Примечание ИЗПИ!
Порядок введения в действие настоящего приказа см. п. 4.
В соответствии с подпунктом 14-8) статьи 12-2 Закона Республики Казахстан "О гражданской защите", ПРИКАЗЫВАЮ:
1. Утвердить прилагаемые правила аттестации сварщиков и специалистов сварочного производства.
2. Комитету промышленной безопасности Министерства по чрезвычайным ситуациям Республики Казахстан в установленном законодательством порядке обеспечить:
1) государственную регистрацию настоящего приказа в Министерстве юстиции Республики Казахстан;4.
2) размещение настоящего приказа на интернет-ресурсе Министерства по чрезвычайным ситуациям Республики Казахстан;
3) в течение десяти рабочих дней после государственной регистрации настоящего приказа в Министерстве юстиции Республики Казахстан представление в Юридический департамент Министерства по чрезвычайным ситуациям Республики Казахстан сведений об исполнении мероприятий, предусмотренных подпунктами 1) и 2) настоящего пункта.
3. Контроль за исполнением настоящего приказа возложить на курирующего вице-министра по чрезвычайным ситуациям Республики Казахстан.
4. Настоящий приказ вводится в действие по истечении шестидесяти календарных дней после дня его первого официального опубликования.
|
Исполняющий обязанности Министра по чрезвычайным ситуациям Республики Казахстан |
И. Кульшимбаев |
"СОГЛАСОВАН"
Министерство
национальной экономики
Республики Казахстан
| Утверждены приказом Первого вице-министра по чрезвычайным ситуациям Республики Казахстан от 23 сентября 2021 года № 468 |
Правила аттестации сварщиков и специалистов сварочного производства
Глава 1. Общие положения
1. Настоящие Правила аттестации сварщиков и специалистов сварочного производства (далее – Правила) разработаны в соответствии с подпунктом 14-8) статьи 12-2 Закона Республики Казахстан "О гражданской защите" (далее – Закон) и определяют порядок аттестации сварщиков и специалистов сварочного производства.
2. В настоящих Правилах применяются следующие термины и определения:
1) специальная подготовка – процесс получения теоретических знаний и практических навыков, учитывающий особенности выполнения сварных соединений конкретного оборудования, металлических конструкций и трубопроводов;
2) специальный экзамен – экзамен на знание особенностей технологий сварочного производства конкретных объектов, сварку которых выполняет (обеспечивает) сварщик или специалист сварочного производства;
3) аттестационная комиссия – группа экзаменаторов, назначенная приказом аттестационной организации для приема аттестационных экзаменов у сварщиков или специалистов сварочного производства;
4) аттестационное удостоверение – документ, выданный на основании результатов аттестации и подтверждающий возможность использования аттестованного лица при выполнении сварочных работ;
5) аттестационная организация – организация, проводящая проверку знаний и умений аттестуемых сварщиков и специалистов сварочного производства в соответствии с требованиями настоящих Правил;
6) экзаменатор – специалист сварочного производства, аттестованный на право участия в работе по подготовке и аттестации персонала в области сварки, применительно к конкретным группам объектов;
7) общий экзамен – экзамен на знание основных положений теории и практики сварочного производства;
8) кандидат – лицо, претендующее на сдачу аттестационных экзаменов;
9) профессиональная подготовка – процесс получения профессиональных знаний и опыта, которые дают возможность сварщикам и инженерно-техническим работникам надлежащим образом выполнять задачи в области сварочного производства;
10) уровень профессиональной подготовки – степень соответствия сварщика или специалиста сварочного производства настоящим Правилам, определяющая возможность его привлечения к выполнению соответствующих видов работ.
3. Аттестация сварщиков и специалистов сварочного производства проводится в целях установления достаточности их теоретической и практической подготовки, проверки их знаний и навыков, а также предоставления права сварщикам и специалистам сварочного производства выполнять работы на опасных производственных объектах.
4. Аттестация сварщиков и специалистов сварочного производства включает четыре уровня профессиональной подготовки:
I уровень – аттестованный сварщик;
II уровень – аттестованный мастер-сварщик;
III уровень – аттестованный технолог-сварщик;
IV уровень – аттестованный инженер-сварщик.
Присвоение уровня не отменяет присвоенной квалификационной категории (разряда) по действующей системе согласно трудовому законодательству Республики Казахстан.
5. Аттестованные сварщики и специалисты сварочного производства допускаются к выполнению тех видов работ, которые указаны в их аттестационных удостоверениях.
6. Специалисты сварочного производства, участвующие в работе аттестационных комиссий, аттестуются на право участия в работе по подготовке и аттестации сварщиков и специалистов сварочного производства.
7. Аттестация сварщиков выполняется на производственной базе аттестационной организации.
8. Прием аттестационных экзаменов осуществляется аттестационными комиссиями.
Состав аттестационных комиссий аттестационных организаций формируется из квалифицированных специалистов сварочного производства II, III и IV уровней профессиональной подготовки, прошедших аттестацию на право участия в работе по подготовке и аттестации персонала в области сварки (далее – экзаменаторов).
9. В состав аттестационных комиссий входят:
1) при аттестации сварщиков на I уровень профессиональной подготовки – не менее одного специалиста IV и двух специалистов III и (или) II уровней профессиональной подготовки;
2) при аттестации специалистов на II и III уровень профессиональной подготовки – не менее одного специалиста IV и двух специалистов III уровня профессиональной подготовки;
3) при аттестации специалистов на IV уровень профессиональной подготовки – не менее трех специалистов IV уровня профессиональной подготовки.
10. В состав аттестационной комиссии не входят лица, осуществлявшие обучение (специальную подготовку) аттестуемых сварщиков и специалистов сварочного производства.
11. Аттестационные удостоверения, выдаваемые аттестованным сварщикам и специалистам сварочного производства, действительны на всей территории Республики Казахстан.
12. Кандидат, претендующий на получение уровня профессиональной подготовки, имеет образование и профессиональную подготовку в соответствии с требованиями, приведенными в приложении 1 к настоящим Правилам (далее – требования к кандидатам на аттестацию) (таблица 1).
13. Перед аттестацией сварщиков и специалистов сварочного производства проводится специальная подготовка.
Аттестация сварщиков и специалистов сварочного производства проводится по программам, составленных аттестационной организацией с учетом уровня профессиональной подготовки специалистов и направлений их производственной деятельности и включающих разделы по сварочному оборудованию, основным и сварочным материалам, технологии сварки, контролю качества сварных соединений, дефектам сварных соединений и способам их исправления, безопасному выполнению сварочных работ.
14. По решению аттестационной комиссии к аттестации допускаются специалисты сварочного производства, прошедшие подготовку самостоятельно по программе и соответствующие требованиям к кандидатам на аттестацию.
15. Требования к производственному стажу работы по специальности аттестуемых сварщиков и специалистов сварочного производства приведены в требованиях к кандидатам на аттестацию (таблицы 2 и 3).
16. Аттестованные лица получают аттестационные удостоверения.
Срок действия удостоверения при первичной аттестации для сварщиков – 2 года, для специалистов сварочного производства II и III уровней – 3 года, для специалистов сварочного производства IV уровня – 5 лет.
17. Аттестационные организации ведут учет выданных аттестационных удостоверений и учет сварщиков и специалистов сварочного производства, прошедших аттестацию.
Глава 2. Аттестация сварщиков
Параграф 1. Общие положения
18. Сварщики подлежат аттестации на право выполнения сварочных и наплавочных работ конкретными видами (способами) сварки плавлением, осуществляемыми вручную, механизированными (полуавтоматическими) и автоматизированными методами при работах на опасных производственных объектах.
19. После аттестации сварщику присваивается I уровень профессиональной подготовки (аттестованный сварщик).
20. Аттестация сварщиков подразделяется на первичную, дополнительную, периодическую и внеочередную.
21. Первичную аттестацию проходят сварщики, не имевшие ранее допуска к сварке и (или) наплавке (далее – сварка) соединений оборудования, конструкций и трубопроводов на опасных производственных объектах.
При первичной аттестации сварщики сдают общий, специальный и практический экзамены.
22. Дополнительную аттестацию проходят сварщики, прошедшие первичную аттестацию, перед их допуском к сварочным работам, не указанным в их аттестационных удостоверениях, а также после перерыва свыше 6 месяцев в выполнении сварочных работ, указанных в их аттестационных удостоверениях.
При дополнительной аттестации сварщики сдают специальный и практический экзамены.
23. Периодическую аттестацию проходят все сварщики в целях продления указанного срока действия их аттестационных удостоверений на выполнение соответствующих сварочных работ.
При периодической аттестации сварщики сдают специальный и практический экзамены.
24. Внеочередную аттестацию проходят сварщики перед их допуском к выполнению сварки после их временного отстранения от работы за нарушение технологии сварки или повторяющееся неудовлетворительное качество выполненных ими производственных сварных соединений.
При внеочередной аттестации сварщики сдают общий, специальный и практический экзамены.
25. К первичной аттестации допускаются сварщики прошедшие теоретический и практический подготовки по аттестуемому виду (способу) сварки и имеющие минимальный производственный стаж работы по специальности согласно требованиям к кандидатам на аттестацию (таблица 2).
В случае если сварщик имеет опыт работы по ручной сварке, то в стаж его работы при аттестации на сварку механизированными и автоматическими способами сварки засчитывается стаж работы по ручной сварке.
В случае если сварщик имеет опыт работы по механизированным способам сварки, то в стаж его работы при аттестации на сварку автоматическими способами сварки засчитывается стаж работы по механизированным способам сварки.
Параграф 2. Порядок аттестации сварщиков
26. При представлении к аттестации сварщика работодатель (заявитель) направляет в аттестационную организацию заявку по форме, согласно приложению 2 к настоящим Правилам.
Кандидату допускается самостоятельно представить о себе необходимую информацию.
27. Объем теоретических знаний аттестуемого сварщика удовлетворяет требованиями экзаменационных программ в соответствии с пунктом 13 настоящих Правил.
Общие требования к экзаменационным программам приведены в приложении 3 к настоящим Правилам.
28. Аттестацию сварщика проводят путем проверки его практических навыков и теоретических знаний в соответствии с видом (способом) сварки (наплавки), по которому он аттестуется, и направлением его производственной деятельности (группа или наименование оборудования на опасных производственных объектах, сварку которых выполняет сварщик на производстве, вид выполняемых работ – изготовление, монтаж, ремонт).
29. Процедура аттестации включает сдачу аттестуемым сварщиком следующих экзаменов:
практического, общего и специального – при первичной и внеочередной аттестациях;
практического и специального – при дополнительной и периодической аттестации.
Теоретические (общий и (или) специальный) и практический экзамены проводят в аттестационной организации.
Сварщики, имеющие специальное (высшее техническое или среднее техническое) образование по сварочному производству освобождаются от сдачи общего экзамена при первичной аттестации.
Проводится только специальный экзамен, если целью дополнительной аттестации сварщика является расширение направления его производственной деятельности без изменения характеристик, учитываемых при сварке контрольных сварных соединений.
Проводится только практический экзамен, если целью дополнительной аттестации сварщика является расширение области распространения аттестации без изменения вида (способа) сварки (наплавки) и направления его производственной деятельности.
30. Аттестацию сварщиков начинают с проведения практического экзамена. Если сварщик не сдал практический экзамен, то к дальнейшим экзаменам он не допускается и считается не прошедшим аттестацию. Сварщику допускается пройти аттестацию повторно после дополнительной практической подготовки не ранее чем через 1 месяц.
31. На общем экзамене сварщику задают 20 вопросов по основам сварки, а на специальном экзамене – не менее 15 произвольно выбранных вопросов в соответствии с видом (способом) сварки (наплавки), по которому он аттестуется, и направлением его производственной деятельности. Выбор вопросов проводит аттестационная комиссия по сборникам экзаменационных вопросов по общему и специальному экзаменам. Каждый сборник содержит не менее 100 вопросов.
Если сварщик аттестуется на два или три вида (способа) сварки (наплавки), в экзаменационные вопросы вносятся не менее 5 вопросов по каждому виду (способу) сварки (наплавки) из соответствующих сборников экзаменационных вопросов. При аттестации на сварку объектов, входящих в две или три группы опасных технических устройств, сварщик получает отдельные вопросы для специального экзамена по каждой группе опасных технических устройств, при этом в вопросы включается не менее 5 вопросов по каждой группе опасных технических устройств.
32. Общий и специальный экзамены проводят в письменной форме или с помощью компьютера. По решению экзаменационной комиссии допускается проведение с аттестуемым дополнительного собеседования.
33. Сварщик считается выдержавшим общий и специальный экзамены, если он правильно ответил не менее чем на 80 процентов (далее – %) заданных ему вопросов на каждом из экзаменов, с учетом результатов собеседования.
34. Сварщик считается прошедшим аттестацию при успешной сдаче теоретических (общего и (или) специального) и практического экзаменов.
35. Если сварщик выдержал только практический и один из теоретических экзаменов, то допускается пересдача несданного экзамена по ранее поданной заявке в течение шести месяцев со дня первого экзамена, но не ранее чем через месяц после сдачи экзаменов. При повторной несдаче все ранее сданные при аттестации экзамены не засчитываются, сварщик считается не прошедшим аттестацию и допускается к процедуре аттестации после дополнительного теоретического и практического обучения с оформлением новой заявки.
36. При аттестации сварщика подлежат учету следующие характеристики:
виды (способы) сварки и наплавки;
типы швов;
вид деталей;
типы и виды контрольных сварных соединений;
группы основных материалов;
присадочные материалы;
размеры контрольных сварных соединений;
положение при сварке;
степень автоматизации оборудования при сварке труб из пластмасс;
группа опасных технических устройств.
37. Аттестацию сварщиков проводят отдельно по следующим видам (способам) сварки (наплавки):
для металлов:
РД – ручная дуговая сварка покрытыми электродами;
РДВ – ванная ручная дуговая сварка покрытыми электродами;
РАД – ручная аргонодуговая сварка неплавящимся электродом;
МАДП – механизированная аргонодуговая сварка плавящимся электродом;
МП – механизированная сварка плавящимся электродом в среде активных газов и смесях;
ААД – автоматическая аргонодуговая сварка неплавящимся электродом;
АПГ – автоматическая сварка плавящимся электродом в среде активных газов и смесях;
ААДП – автоматическая аргонодуговая сварка плавящимся электродом;
АФ – автоматическая сварка под флюсом;
МФ – механизированная сварка под флюсом;
МФВ – ванная механизированная сварка под флюсом;
МПС – механизированная сварка самозащитной порошковой проволокой;
МПГ – механизированная сварка порошковой проволокой в среде активных газов;
МПСВ – ванная механизированная сварка самозащитной порошковой проволокой;
МСОД – механизированная сварка открытой дугой легированной проволокой;
П – плазменная сварка;
ЭШ – электрошлаковая сварка;
ЭЛ – электронно-лучевая сварка;
Г – газовая сварка;
РДН – ручная дуговая наплавка покрытыми электродами;
РАДН – ручная аргонодуговая наплавка;
ААДН – автоматическая аргонодуговая наплавка;
АФЛН – автоматическая наплавка ленточным электродом под флюсом;
АФПН – автоматическая наплавка проволочным электродом под флюсом;
КТС – контактно-точечная сварка;
КСС – контактная стыковая сварка сопротивлением;
КСО – контактная стыковая сварка оплавлением;
ВЧС – высокочастотная сварка;
ПАК – пайка;
для полимерных материалов:
НИ – сварка нагретым инструментом;
ЗН – сварка с закладными нагревателями;
НГ – сварка нагретым газом;
Э – экструзионная сварка.
38. При аттестации на сварку полимерных материалов дополнительно учитывается степень автоматизации применяемого сварочного оборудования:
при сварке труб нагретым инструментом:
СР – стыковая сварка с ручным управлением;
ССА – стыковая сварка со средней степенью автоматизации;
СВА – стыковая сварка с высокой степенью автоматизации;
при сварке труб с использованием деталей с закладными нагревателями:
ЗНР – сварка с ручным заданием параметров;
ЗНШ – сварка в режиме штрих-кода или магнитной карты;
ЗНА – сварка с автоматической обратной связью фитинга со сварочным аппаратом;
при других способах сварки конструкций, за исключением трубопроводов систем газоснабжения:
НИР – ручная сварка нагретым инструментом независимо от типа соединения;
НИМ – механизированная сварка нагретым инструментом независимо от типа соединения;
НГР – ручная сварка нагретым газом независимо от типа соединения;
НГМ – механизированная сварка нагретым газом независимо от типа соединения;
ЭР – ручная экструзионная сварка независимо от типа соединения;
ЭМ – механизированная экструзионная сварка независимо от типа соединения.
При аттестации на сварку элементов железобетонных конструкций дополнительно учитывают способ и технологические особенности сварки с соответствующей записью условного обозначения по ГОСТ 14098 "Соединения сварные арматуры и закладных изделий железобетонных конструкций. Типы, конструкции и размеры" (далее – ГОСТ 14098).
39. При аттестации по сварке металлических конструкций сварщики выполняют сварку стыковых – СШ (BW) или угловых – УШ (FW) швов контрольных соединений деталей следующих видов: листов – Л (Р), труб – Т (Т), стержней – С (S) и их сочетаний (лист с трубой – Л+Т, лист со стержнем – Л+С, труба со стержнем – Т+С) в соединениях следующих типов: стыковые – С, тавровые – Т, угловые – У и нахлесточные – Н.
При аттестации на сварку арматуры железобетонных конструкций сварщики выполняют стыковые, нахлесточные, крестообразные или тавровые контрольные соединения по ГОСТ 14098.
При аттестации по сварке полимерных материалов сварщики выполняют контрольные сварные соединения деталей следующих видов: листов – Л (Р), труб – Т (Т), листов с трубой – Л+Т, трубы с отводом – Т+О, трубы с трубой через муфту – Т+М+Т следующих типов:
стыковые:
без разделки кромок – СБ (BW);
с односторонней разделкой кромок – СV;
с двусторонней разделкой кромок – СХ;
нахлесточные:
соединение листов "в нахлестку" – Н (LW);
соединение листов "в угол" – У (FW);
соединение труб в раструб – Р;
муфтовое соединение труб – М;
соединение труб с седловыми отводами – О;
тавровые:
без разделки кромок – ТБ;
с односторонней разделкой кромок – ТV;
с двусторонней разделкой кромок – ТХ.
Примечание:
Под понятием "труба" подразумевают также детали замкнутого полого профиля (штуцер, патрубок, обечайка, корпус коллектора и прочее). Под понятием "стержень" подразумевают детали круглого и многогранного сплошного сечения, гладкие и с периодическим профилем.
40. Контрольные сварные соединения, выполняемые при аттестации на сварку металлов плавлением, подразделяют на следующие виды:
сварные соединения, выполняемые с одной стороны (односторонняя сварка) – ос (ss) и с двух сторон (двусторонняя сварка) – дс (bs);
сварные соединения, выполняемые на съемной или остающейся подкладке, подкладном кольце – сп (mb) и без подкладки (на весу) – бп (nb);
сварные соединения, выполняемые с зачисткой корня шва – зк (gg), без зачистки корня шва – бз (ng);
сварные соединения, выполняемые с газовой защитой корня шва (поддувом газа) – гз (gb);
сварные соединения, выполняемые в съемных или подвижных инвентарных формах – иф (медных, графитовых, керамических и другие);
сварные соединения, выполняемые в стальных остающихся скобах-накладках – сн;
сварные соединения, выполняемые в комбинированных формирующих элементах – кф (стальная остающаяся полускоба-накладка + съемная медная полуформа).
Паяные соединения, выполняемые на остающейся подкладке, подкладном кольце – сп (mb) и без подкладки на весу – бп (nb).
41. Аттестационные испытания проводят для групп свариваемых материалов, указанных в приложении 4 к настоящим Правилам (далее – требования к контрольным сварным соединениям и области распространения аттестации) (таблица 1).
Перечень типичных марок основных материалов, используемых при изготовлении сварных конструкций, приведен в требованиях к контрольным сварным соединениям и области распространения аттестации (таблица 2).
Аттестацию по сварке контрольных сварных соединений из материалов, входящих в одну группу или относящихся к разным группам, проводят с учетом требований пункта 90 настоящих Правил.
Аттестационные испытания при наплавке ручными способами проводятся отдельно для материалов, требующих подогрева при наплавке, и материалов, не требующих подогрева.
42. Для сварки контрольных сварных соединений используются присадочные материалы (электроды, сварочная проволока, лента, флюс, газы и другие), регламентированные национальными и (или) межгосударственными стандартами для сварки конкретным способом соединений из конкретной группы основного материала или конкретного сочетания основных материалов различных групп.
Металлические покрытые электроды для ручной дуговой сварки по виду покрытия подразделяются на электроды:
A (А) – с кислым покрытием;
Б (B) – с основным покрытием;
Ц (C) – с целлюлозным покрытием;
Р (R) – с рутиловым покрытием;
РА (RA) – с кисло-рутиловым покрытием;
РБ (RB) – с рутил-основным покрытием;
РЦ (RC) – с рутил-целлюлозным покрытием;
П (S) – с прочими видами покрытий.
Примечания:
Обозначения видов покрытий электродов даны по ГОСТ 9466 "Электроды покрытые металлические для ручной дуговой сварки сталей и наплавки. Классификация и общие технические условия".
В скобках приведен шифр вида покрытия электродов по СТ РК ISO 2560 "Материалы сварочные. Электроды металлические покрытые для ручной дуговой сварки нелегированных и мелкозернистых сталей. Классификация".
43. На практическом экзамене сварщик выполняет контрольные сварные соединения, по диаметру и толщине однотипные производственным, в соответствии с заявкой на аттестацию.
Контрольное сварное соединение считают однотипным, если оно соответствует требованиям однотипности, изложенным в национальных и (или) межгосударственных стандартах. В случае отсутствия требований к однотипным сварным соединениям в национальных и (или) межгосударственных стандартах, при выборе размеров контрольных сварных соединений используются требования к контрольным сварным соединениям и области распространения аттестации (таблицы 3-5) и заявка на проведение аттестации.
Допускается изменение области распространения аттестации, указанной в требованиях к контрольным сварным соединениям и области распространения аттестации (таблицы 3 и 4), с учетом области деятельности аттестуемого сварщика и специфики применяемого вида (способа) сварки (наплавки).
44. Положения контрольных сварных соединений при проведении практического экзамена соответствуют тем, в которых сварщику предстоит выполнять производственные сварные соединения (наплавки).
Приняты следующие условные обозначения положений сварки:
Н1 (РА) – нижнее стыковое и в "лодочку";
Н2 (РВ) – нижнее тавровое;
Г (РС) – горизонтальное;
П1 (РЕ) – потолочное стыковое;
П2 (PD) – потолочное тавровое;
В1 (PF) – вертикальное снизу вверх;
В2 (PG) – вертикальное сверху вниз;
Н45 (H-L045) – наклонное под углом 45 градусов.
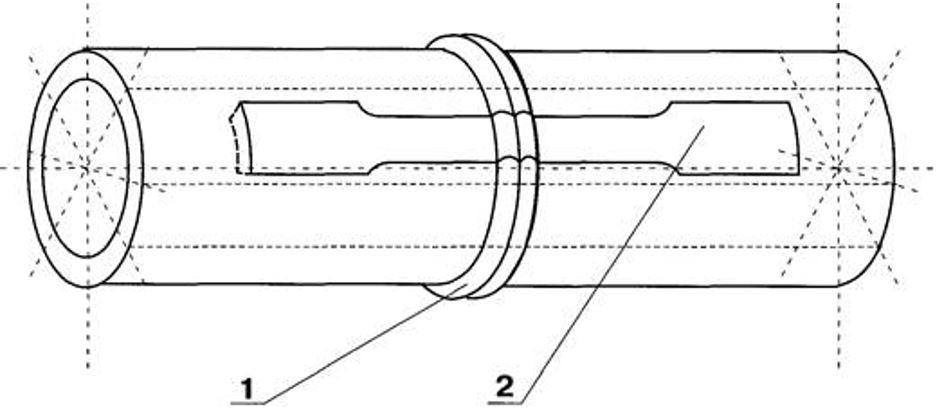
Типы положений при сварке стыковых, тавровых и угловых соединений труб и листов приведены в приложении 5 к настоящим Правилам (далее – требования к положению, размерам и типам контрольных сварных соединений) (рисунки 1 и 2).
Примечания:
Нижнее (потолочное) положение – плоскость, в которой располагается шов контрольного сварного соединения, находится под углом 0-10 градусов по отношению к горизонтальной плоскости.
Вертикальное положение – плоскость, в которой располагается шов контрольного сварного соединения, находится под углом 90 (10) градусов по отношению к горизонтальной плоскости.
Наклонное положение под углом 45 градусов – плоскость, в которой располагается шов контрольного соединения, находится под углом 45 (10) градусов по отношению к горизонтальной плоскости.
Положения вертикальное снизу вверх – В1 или вертикальное сверху вниз – В2 относятся к сварке труб с наклоном продольной оси 20 градусов.
При аттестации на сварку полиэтиленовых труб трубопроводов систем газоснабжения ось контрольных сварных соединений располагается горизонтально.
Параграф 3. Сварка (наплавка) контрольных сварных соединений
45. Виды контрольных сварных соединений (наплавки), выполняемых сварщиком при аттестации, назначает аттестационная комиссия с учетом заявки на проведение аттестации.
46. При сварке контрольного сварного соединения (наплавки) сварщик выполняет все требования карты технологического процесса. Карты технологического процесса разрабатываются на группу однотипных сварных соединений или на конкретные сварные соединения. Типовая форма карты технологического процесса сварки (наплавки) контрольного сварного соединения приведена в приложении 6 к настоящим Правилам.
Типовые формы карт технологического процесса для сварки контрольного сварного соединения из полимерных материалов приведены в приложениях 7 и 8 к настоящим Правилам.
Карты технологического процесса на сварку (наплавку) контрольного сварного соединения учитывает следующее:
вид (способ) сварки (наплавки) соответствует применяемому на производстве;
присадочные или наплавочные материалы соответствуют материалам, рекомендуемым национальными и (или) межгосударственными стандартами для вида (способа) сварки (наплавки), применяемого при аттестации;
комбинации основного и присадочного материалов соответствуют материалам, используемым в производстве;
тип сварочного оборудования соответствует оборудованию, применяемому на производстве;
разделка кромок деталей контрольного сварного соединения, режим сварки, порядок сварки, температура предварительного и сопутствующего подогрева и режим термической обработки при сварке контрольного сварного соединения соответствуют требованиям документов, указанных в аттестационной заявке.
47. Размеры деталей контрольных сварных соединений при аттестации на сварку металлических конструкций соответствуют конструкциям, приведенным в требованиях к положению, размерам и типам контрольных сварных соединений (рисунки 3-6). Длину деталей выбирают с учетом возможности выполнения всех технологических (подогрев, термическая обработка) и контрольных операций, указанных в карте технологического процесса.
При аттестации по сварке элементов железобетонных конструкций размеры и количество образцов контрольных сварных соединений принимают согласно национальным и (или) межгосударственным стандартам на железобетонные конструкции с учетом ГОСТ 14098, ГОСТ 10992 "Арматурные и закладные изделия, их сварные, вязаные и механические соединения для железобетонных конструкций. Общие технические условия" (далее – ГОСТ 10992) и ГОСТ 34028 "Прокат арматурный для железобетонных конструкций. Технические условия".
При аттестации по сварке полимерных материалов сварщик выполняет контрольное сварное соединение согласно требованиям к контрольным сварным соединениям и области распространения аттестации (таблица 5).
Типы контрольных сварных соединений труб и листов приведены в требованиях к положению, размерам и типам контрольных сварных соединений (рисунки 7-11).
Возможность использования контрольных сварных соединений другого вида и (или) размеров определяет аттестационная комиссия.
48. Количество контрольных сварных соединений из труб – не менее 5 штук, при наружном диаметре труб до 25 миллиметров (далее – мм) (при необходимости сварки нескольких образцов разных диаметров общее количество образцов – не менее 5 штук и не менее 2 штук каждого диаметра), не менее 2 штук – при диаметре труб свыше 25 до 100 мм, не менее 1 штуки – при диаметре труб свыше 100 мм. При диаметре труб более 120 мм допускается выполнять сварку полупериметра стыка, захватывая нижнюю и верхнюю части стыка.
При выполнении контрольных сварных соединений пластин металлоконструкций сваривают одно или более контрольных соединений длиной не менее 450 мм при автоматической сварке и не менее 300 мм при ручной и механизированной сварке.
При выполнении контрольных сварных соединений при варке труб в трубные решетки количество ввариваемых труб – не менее 7 штук, при этом одна из труб располагается центрально по отношению к остальным.
Для элементов железобетонных конструкций в соответствии с ГОСТ 10992 для проверки механических свойств количество образцов контрольных сварных соединений – 3 образца.
Количество контрольных сварных соединений труб из полимерных материалов, выполняемых сваркой нагретым инструментом встык, зависит от степени автоматизации сварочного оборудования:
при использовании сварочных установок стыковой сварки с ручным управлением – СР – 3 образца;
при стыковой сварке со средней степенью автоматизации – ССА – 2 образца;
при стыковой сварке с высокой степенью автоматизации – СВА – 1 образец.
При выполнении контрольных сварных соединений труб из полимерных материалов способом сварки с закладными нагревателями – ЗН сваривают два контрольных соединения: одно муфтовое – М и одно соединение с седловым отводом – О, причем одно из соединений выполняется в режиме сварки с ручным заданием параметров – ЗНР.
При выполнении контрольных сварных соединений труб в раструб сваривают не менее 3 контрольных соединений "труба с трубой" посредством раструбной муфты либо "труба+муфта+труба".
При выполнении контрольных сварных соединений листов из полимерных материалов способами сварки нагретым газом – НГ, экструзионной сварки – Э и сварки нагретым инструментом – НИ сваривают одно контрольное сварное соединение.
49. При выполнении контрольных наплавок антикоррозионного покрытия размеры контрольных образцов (пластины, трубы, обечайки) выбираются по требованиям к контрольным сварным соединениям и области распространения аттестации (таблицы 2 и 3) так, чтобы область распространения соответствовала размерам производственных изделий и площадь наплавки была достаточной для проведения испытаний.
При наплавке листов и труб диаметром более 500 мм площадь контролируемой части наплавки составляет не менее 200 × 150 мм при ручной и не менее 400 × 150 мм при автоматической наплавках. Количество слоев и толщина наплавки соответствуют национальным и (или) межгосударственным стандартам.
50. Свариваемые и присадочные или наплавочные материалы, применяемые при сварке (наплавке) контрольных сварных соединений (наплавок), имеют сертификат качества и (или) сертификат завода-изготовителя сварочных материалов, а при их отсутствии испытываются в соответствии с требованиями национальных и (или) межгосударственных стандартов для признания годными для сварки.
51. Сварочное оборудование, применяемое для сварки контрольных сварных соединений при аттестации сварщиков, имеет контрольно-измерительные приборы, соответствующие требованиям законодательства Республики Казахстан об обеспечении единства измерений и находится в исправном состоянии.
Порядок использования специализированного оборудования для проведения практического экзамена соответствует проведению практических экзаменов на специализированном сварочном оборудовании.
52. При аттестации на сварку полимерных материалов степень автоматизации сварочного оборудования, используемого при проведении практического экзамена, определяет заявитель. Вместе с тем, при использовании сварочных устройств со средней и высокой степенями автоматизации (стыковая сварка со средней степенью автоматизации – ССА, стыковая сварка с высокой степенью автоматизации – СВА, сварка в режиме штрих-кода или магнитной карты – ЗНШ, сварка с автоматической обратной связью фитинга со сварочным аппаратом – ЗНА) сварщик во время экзамена демонстрирует умение выполнять сварку в ручном режиме управления. При использовании сварочных устройств с высокой степенью автоматизации к журналу сварочных работ прилагаются распечатки регистратора процесса сварки.
53. Подготовку и сборку деталей под сварку, а также сварку осуществляет сварщик, проходящий аттестацию, в присутствии члена (членов) аттестационной комиссии. Детали перед сваркой маркируются. Клеймо выбирает член аттестационной комиссии.
Разрешение на сварку контрольного соединения выдает член аттестационной комиссии после приемки качества его сборки, о чем делается отметка в журнале учета работ при аттестации сварщиков согласно приложениям 9 и 10 к настоящим Правилам.
54. При сварке плавлением контрольного соединения выполняются следующие условия:
контрольное сварное соединение имеет в корне и в верхнем наплавленном слое, по меньшей мере, одно прерывание процесса с последующим возобновлением сварки в этом месте (если технология сварки позволяет выполнить прерывание шва);
время выполнения сварного шва (наплавки) контрольного сварного соединения (наплавки) не превышает времени его выполнения в производственных условиях;
сварщику с разрешения члена экзаменационной комиссии допускается устранять поверхностные дефекты ручным абразивным инструментом или другими способами. Устранение дефектов в облицовочном слое шва не допускается.
Прерывание процесса сварки не выполняют при сварке труб из полимерных материалов встык нагретым инструментом, при сварке седловых отводов и труб с применением деталей с закладными нагревателями.
55. Аттестационной комиссии допускается прерывать практический экзамен, если сварщик неоднократно нарушает порядок подготовки и сборки деталей, а также сварки (наплавки), предусмотренные документами, указанными в заявке (неправильная сборка стыков, несоосность, перелом осей, неумение настроить режим сварки (наплавки), частые исправления дефектов при прихватке или сварке (наплавке) стыка).
Параграф 4. Контроль качества контрольных сварных соединений
56. Контрольные сварные соединения подвергают контролю качества методами, приведенными в требованиях к контрольным сварным соединениям и области распространения аттестации (таблица 6).
Контролю неразрушающими методами подлежит каждое контрольное сварное соединение по всей его длине (периметру).
При аттестации сварщиков на выполнение наплавок сплошному контролю подлежит вся площадь наплавки следующими методами: визуальным и измерительным, капиллярным и ультразвуковым.
57. Помимо указанных в требованиях к контрольным сварным соединениям и области распространения аттестации (таблица 6) методов контроля, контрольные сварные соединения допускается дополнительно подвергать испытаниям другими методами, если применение этих методов оговорено национальными и (или) межгосударственными стандартами на сварку производственных стыков или указано в заявке на проведение аттестации.
58. Контроль качества контрольных сварных соединений (наплавок) выполняется в соответствии с требованиями национальных и (или) межгосударственных стандартов на выполнение контроля конкретными методами.
59. Контролируемый участок контрольного сварного соединения при контроле неразрушающими методами включает весь объем шва, а также прилегающие к нему участки основного материала по обе стороны от шва:
для стыковых контрольных сварных соединений, выполняемых дуговыми способами сварки или электронно-лучевой сваркой шириной не менее 5 мм, при толщине свариваемых деталей до 5 мм включительно, не менее номинальной толщины свариваемых деталей при толщине деталей свыше 5 и до 20 мм включительно, не менее 20 мм при номинальной толщине свариваемых деталей свыше 20 мм;
для угловых и торцевых контрольных сварных соединений и вварки труб в трубные решетки, выполняемых дуговыми способами сварки и электронно-лучевой сваркой, шириной не менее 3 мм независимо от толщины;
для контрольных сварных соединений, выполняемых электрошлаковой сваркой, шириной не менее 50 мм независимо от толщины.
60. Визуальному и измерительному контролю подлежат все контрольные сварные соединения, выполненные сварщиком при аттестации.
Контроль выполняют с целью выявления следующих дефектов:
отступлений по размерам и форме швов от требований национальных и (или) межгосударственных стандартов, чертежей, технических условий и инструкций по сварке изделий;
смещения кромок свариваемых деталей;
поверхностных трещин всех видов и направлений;
наплывов, подрезов, прожогов, кратеров, непроваров, свищей, западаний между валиками, грубой чешуйчатости, поверхностных включений.
61. Визуальный контроль сварных швов производят по всей их протяженности с двух сторон невооруженным глазом или с применением лупы 4-7-кратного увеличения. Перед контролем сварной шов и прилегающие к нему поверхности контрольного сварного соединения по обе стороны шва очищаются от шлака и других загрязнений, затрудняющих выполнение контроля. Ширина очищенной зоны соответствует требованиям национальных и (или) межгосударственных стандартов на сварку оборудования конкретных групп опасных технических устройств.
Измерительный контроль производят не менее чем в 4 местах, расположенных равномерно по длине сварного шва. Выбор мест измерения выполняет член аттестационной комиссии.
62. Визуальный и измерительный контроль выполняют в соответствии с требованиями национальных и (или) межгосударственных стандартов и методиками контроля конкретной продукции. Для соединений из полимерных материалов контроль выполняется в соответствии с требованиями, изложенными в приложениях 11 и 12 к настоящим Правилам.
63. К радиографическому или ультразвуковому контролю, к контролю разрушающими методами (испытания на растяжение, излом, изгиб, металлографические исследования) контрольных соединений приступают только при удовлетворительных результатах визуального и измерительного контроля.
64. Магнитопорошковый контроль выполняют с целью определения поверхностных и подповерхностных дефектов, а капиллярный контроль – с целью выявления поверхностных дефектов в контрольных сварных соединениях.
Магнитопорошковый контроль производят в соответствии с ГОСТ 21105 "Контроль неразрушающий. Магнитопорошковый метод", капиллярный контроль – в соответствии с ГОСТ 18442 "Контроль неразрушающий. Капиллярные методы. Общие требования" и (или) другими национальными и (или) межгосударственными стандартами. Класс и уровень чувствительности контроля устанавливают согласно национальным и (или) межгосударственным стандартам и указывают в технологической карте по сварке.
65. Радиографический и ультразвуковой контроль проводят для выявления в сварных соединениях внутренних дефектов (трещин, непроваров, несплавлений, одиночных газовых, шлаковых и металлических включений, скоплений включений).
Ультразвуковой контроль сварных соединений образцов производят в соответствии с ГОСТ 14782 "Контроль неразрушающий. Соединения сварные. Методы ультразвуковые" и (или) другими национальными и (или) межгосударственными стандартами.
Радиографический контроль сварных соединений производят в соответствии с ГОСТ 7512 "Контроль неразрушающий. Соединения сварные. Радиографический метод" и (или) другими национальными и (или) межгосударственными стандартами.
66. Радиографический, ультразвуковой, магнитопорошковый или капиллярный контроль контрольных соединений, сваренных сварщиком при аттестации, выполняют по всей протяженности сварных швов.
При оценке качества сварных соединений листов результаты контроля на конечных участках длиной 25°мм не учитывают.
67. Механические испытания контрольных сварных соединений металлических материалов проводят в соответствии с ГОСТ 6996 "Сварные соединения. Методы определения механических свойств", полимерных – в соответствии с ГОСТ 11262 "Пластмассы. Методы испытания на растяжение".
Механические испытания сварных соединений арматуры и закладных изделий железобетонных конструкций выполняют по ГОСТ 10992.
Инструкции по проведению механических испытаний контрольных сварных соединений приведены в приложениях 13 и 14 к настоящим Правилам – для соединений из металлических материалов и в приложениях 15 и 16 к настоящим Правилам – для соединений из полимерных материалов.
68. Анализ макрошлифов без их полирования выполняют на шлифах, вырезаемых из контрольного соединения равномерно по длине (периметру) сварного шва. Вырезку шлифов из контрольных соединений, выполненных в положениях вертикальное снизу вверх – В1 и вертикальное сверху вниз – В2, производят таким образом, чтобы ими были представлены участки шва, сваренные в нижнем, вертикальном и потолочном положениях.
Контроль выполняют с целью выявления внутренних дефектов (трещин, непроваров, пор, шлаковых и неметаллических включений), а также для установления размеров дефектов и глубины проплавления шва. Контроль производят путем анализа одной стороны (поверхности) шлифа, вырезанного поперек сварного шва. При этом поверхность включает сечение шва с зоной термического влияния и прилегающим к ней участком основного металла.
69. По результатам контроля качества контрольных образцов оформляется заключение (акт, протокол), в котором указывают: наименование организации, телефон руководителя, фамилия сварщика, клеймо контрольного сварного соединения, вид (способ) сварки, размеры контрольных образцов, метод контроля, национальные и (или) межгосударственные стандарты для оценки качества, размеры обнаруженных дефектов и общую оценку результатов контроля.
Параграф 5. Оценка качества контрольных сварных соединений
70. Оценку качества контрольных сварных соединений производят по нормам, установленным национальными и (или) межгосударственными стандартами для указанной в заявке группы опасных технических устройств.
71. При механических испытаниях оценку качества сварки контрольного сварного соединения производят на основании условия равнопрочности шва и основного металла.
72. Качество контрольных сварных соединений считают неудовлетворительным, если при контроле каким-либо видом будут выявлены недопустимые внутренние или наружные дефекты.
73. В тех случаях, когда неудовлетворительное качество контрольных сварных соединений не связано с недостаточной квалификацией сварщика, допускается повторное проведение практического экзамена.
Параграф 6. Область распространения аттестации
74. Аттестация распространяется только на тот вид (способ) сварки (наплавки), который был использован при проведении практического экзамена.
Другой вид (способ) сварки (наплавки) требует проведения дополнительной аттестации с выдачей нового аттестационного удостоверения после сдачи специального и практического экзаменов.
75. Аттестуемому допускается подтвердить профессиональную подготовку по нескольким видам (способам) сварки (наплавки) при условии выполнения на практическом экзамене отдельных контрольных сварных соединений каждым видом (способом) сварки (наплавки).
76. При аттестации сварщика на право выполнения сварных соединений изделий с использованием нескольких видов (способов) сварки (комбинированная сварка) в одном шве, практический экзамен допускается проводить по одному из следующих вариантов:
1) сварщик выполняет корневую часть контрольного сварного соединения аргонодуговой сваркой неплавящимся электродом с присадочной проволокой без подкладки, а последующие слои шва (заполнение разделки) – ручной дуговой сваркой покрытыми электродами.
По результатам такого экзамена сварщик допускается к:
комбинированной сварке в пределах области распространения, определяемой толщиной контрольного сварного соединения;
аргонодуговой сварке неплавящимся электродом с присадочной проволокой всего сечения в пределах области распространения, определяемой толщиной части шва, выполненного аргонодуговой сваркой неплавящимся электродом с присадочной проволокой;
ручной дуговой сварке покрытыми электродами сварных соединений изделий, толщина которых определяется по общей толщине контрольного сварного соединения, выполненного комбинированной сваркой. В этом случае аттестация распространяется на ручную дуговую сварку покрытыми электродами, выполняемую на подкладке или с зачисткой корня шва, или двухстороннюю сварку;
2) сварщик выполняет отдельные контрольные сварные соединения аргонодуговой сваркой неплавящимся электродом с присадочной проволокой без подкладки и ручной дуговой сваркой покрытыми электродами на подкладке или с подваркой корня шва. При аттестации сварщик выполняет сварку контрольных сварных соединений на все сечение каждым способом сварки отдельно. Выбор контрольных сварных соединений по толщине и диаметру производит аттестационная комиссия в соответствии с аттестационной заявкой на выполнение сварных соединений с использованием нескольких способов сварки в одном шве.
Сварщик, прошедший такую аттестацию, допускается как к сварке отдельно каждым из применяемых способов сварки, так и к комбинированной сварке.
Аналогично выполняют аттестацию и для других вариантов использования нескольких видов (способов) сварки в одном шве.
77. Аттестация по ручной дуговой сварке покрытыми электродами стыковых сварных соединений из стали группы М11 со сталями других групп распространяется на ручную дуговую наплавку покрытыми электродами – РДН, ручную аргонодуговую наплавку – РАДН антикоррозионного покрытия на сталях этих групп.
78. Аттестация по сварке способами ручной дуговой сварки покрытыми электродами – РД, ручной аргонодуговой сварки неплавящимся электродом – РАД, автоматической аргонодуговой сварки неплавящимся электродом – ААД, автоматической сварки под флюсом – АФ распространяется на предварительную наплавку кромок деталей из материалов соответствующих групп и на исправление дефектов сваркой или наплавкой способами ручной дуговой наплавки покрытыми электродами – РДН, ручной аргонодуговой наплавки – РАДН, автоматической аргонодуговой наплавки – ААДН, автоматической наплавки ленточным электродом под флюсом – АФЛН, автоматической наплавки проволочным электродом под флюсом – АФПН.
79. Область распространения аттестации для деталей металлических конструкций, в зависимости от положения контрольного сварного соединения при сварке плавлением приведена в требованиях к контрольным сварным соединениям и области распространения аттестации (таблица 7).
Аттестация по сварке стыковых сварных соединений труб распространяется на сварку стыковых сварных соединений листов.
Аттестация по сварке стыковых сварных соединений листов в нижнем – Н1 или в горизонтальном – Г положениях, а также угловых сварных соединений листов "в лодочку" – Н1 с полным проваром или без него распространяется на сварку стыковых и угловых сварных соединений труб с наружным диаметром более 150 мм в тех же положениях.
80. Для получения права выполнения работ во всех пространственных положениях аттестуемый сварщик выполняет сварку (наплавку) контрольных сварных соединений в наиболее трудных положениях (в потолочном – для листов, в неповоротном под углом 45 градусов – для труб).
81. При механизированной сварке в защитных газах проволокой сплошного сечения положения вертикальное снизу вверх – В1 и вертикальное сверху вниз – В2 считаются эквивалентными.
82. При аттестации на ручную дуговую наплавку покрытыми электродами ее выполняют отдельно для следующих положений: нижнее, горизонтальное, вертикальное "снизу-вверх" и потолочное.
83. При аттестации на автоматическую аргонодуговую наплавку ее выполняют отдельно для нижнего и горизонтального положений. Аттестацию по автоматической наплавке под флюсом выполняют в нижнем положении.
84. Область распространения аттестации по требованиям к контрольным сварным соединениям и области распространения аттестации (таблица 7) при сварке контрольных тавровых сварных соединений труб распространяется на сварку угловых и тавровых сварных соединений труб с пластинами.
85. Сварка контрольных соединений в положении вертикальное снизу вверх – В1 или вертикальное сверху вниз – В2 распространяется на сварку труб с наклоном продольной оси 20 градусов.
86. При аттестации на сварку трубопроводов систем газоснабжения из полимерных материалов контрольное сварное соединение труб выполняют при горизонтальном расположении оси труб независимо от способа сварки и степени механизации сварочного оборудования, а результаты аттестации распространяются на все положения стыка в пространстве.
87. При аттестации на сварку элементов железобетонных конструкций сварку стержней арматуры допускается выполнять в вертикальном – В или горизонтальном – Г положениях. При сварке стержней в вертикальном положении результаты аттестации распространяются на сварку в горизонтальном положении.
88. Область распространения аттестации по сварке деталей металлических конструкций с различными видами стыковых сварных соединений приведена в требованиях к контрольным сварным соединениям и области распространения аттестации (таблица 8).
Аттестация по сварке стыковых сварных соединений с односторонним швом на листах или трубах на подкладке распространяется на сварные соединения, выполненные двусторонней сваркой.
Аттестация по сварке стыковых сварных соединений распространяется на сварку угловых швов и торцевых сварных соединений.
Аттестация по сварке стыковых сварных соединений труб без подкладки распространяется на сварку труб с учетом области распространения, указанной в требованиях к контрольным сварным соединениям и области распространения аттестации (таблицы 7-11). Область распространения аттестаций, обозначенную знаком "х" в требованиях к контрольным сварным соединениям и области распространения аттестации (таблицы 7-11), определяют по горизонтальной строке.
89. Аттестация по сварке двухслойных сталей и биметаллов распространяется на сварку однослойных материалов, соответствующих основному и плакирующему слоям с учетом толщины выполненного слоя и радиуса кривизны контрольного сварного соединения, и наплавку плакирующего слоя.
90. Аттестация по сварке контрольных соединений деталей из определенной марки материала распространяется на все марки материала, входящие в одну группу с материалом контрольного сварного соединения согласно требованиям к контрольным сварным соединениям и области распространения аттестации (таблицы 1 и 2), а также на материалы других групп в соответствии с требованиями к контрольным сварным соединениям и области распространения аттестации (таблицы 9 и 10).
Аттестация по сварке контрольных соединений деталей, состоящих из разных марок основных материалов, распространяется на все марки материала, входящие в группы материалов контрольного сварного соединения, а также на группы основных материалов в соответствии с требованиями к контрольным сварным соединениям и области распространения аттестации (таблицы 9 и 10). Для материалов, не вошедших в требования к контрольным сварным соединениям и области распространения аттестации (таблица 9), область аттестации распространяется на сварку материалов, из которых было изготовлено контрольное сварное соединение.
Для материалов группы М00 область аттестации распространяется на сварку деталей материалов, из которых было изготовлено контрольное сварное соединение.
Аттестация по сварке двухслойных сталей и биметаллов распространяется на сварку двухслойных сталей и биметаллов с любыми сочетаниями материалов, входящих в группы материалов, образующих контрольное сварное соединение.
Аттестация на выполнение антикоррозионной наплавки на стали, требующие ведения процесса с подогревом, распространяется на выполнение антикоррозионной наплавки на сталях, для которых не требуется подогрев.
91. Результат аттестации сварщика, выполнявшего сварку контрольного сварного соединения с применением присадочных материалов (сварочная проволока, лента, защитные газы или смесь газов, флюсы) определенных марок, распространяется на сварку этим же способом с использованием всех сварочных материалов, которые включены в одну группу с материалами, примененными при выполнении контрольного сварного соединения и предназначенными для сварки деталей из конкретной группы основных материалов, в соответствии с требованиями национальных и (или) межгосударственных стандартов на сварку.
92. Область распространения аттестации на допуск к ручной дуговой сварке покрытыми электродами с одним видом покрытия распространяется на допуск к сварке электродами с другими видами покрытий в соответствии с пунктом 42 настоящих Правил и требованиями к контрольным сварным соединениям и области распространения аттестации (таблица 11).
93. Область распространения аттестации в зависимости от толщины листов и толщины стенки труб, а также от диаметра свариваемых деталей приведена в требованиях к контрольным сварным соединениям и области распространения аттестации (таблицы 3 и 4).
Аттестация по электронно-лучевой сварке распространяется на сварку деталей, толщина которых отличается от фактической толщины выполненного контрольного сварного соединения не более чем на 25 %.
Область распространения аттестации по электрошлаковой сварке определяется количеством электродов, использованных при сварке контрольного образца:
сварка двумя электродами распространяется на сварку одним электродом;
сварка тремя электродами распространяется на сварку двумя и одним электродом;
электрошлаковая сварка пластинчатым электродом распространяется только на этот способ сварки независимо от толщины деталей.
94. Допускается изменение области распространения аттестации с учетом толщины, диаметра контрольного сварного соединения и применяемого вида (способа) сварки (наплавки) в соответствии с требованиями к контрольным сварным соединениям и области распространения аттестации (таблицы 3-5).
95. Аттестацию на сварку полимерных материалов, проведенную на оборудовании с низким уровнем автоматизации по решению аттестационной организации допускается распространять на сварку тем же способом на оборудование с более высокой степенью автоматизации без сварки контрольного сварного соединения при условии, что сварщик имеет удостоверение о том, что он прошел обучение практической работе на оборудовании с соответствующей степенью автоматизации. В этом случае сварщик в присутствии членов экзаменационной комиссии подтверждает умение управлять соответствующим сварочным оборудованием.
Параграф 7. Оформление результатов аттестации
96. По результатам аттестации экзаменационная комиссия оформляет протокол аттестации отдельно на каждого аттестуемого сварщика по каждому виду (способу) сварки (наплавки) по форме, согласно приложению 17 к настоящим Правилам.
К протоколу аттестации прилагаются заключение (акт, протокол) или другие документы о результатах контроля качества контрольных сварных соединений (наплавок).
Контроль качества и испытания контрольных сварных соединений выполняют член экзаменационной комиссии.
При выполнении контрольного сварного соединения комбинированной сваркой в протоколе указываются вариант выполнения контрольного сварного соединения согласно пункту 76 настоящих Правил, толщина слоя, выполненная каждым видом (способом) сварки, основной и присадочный материалы.
97. Протокол аттестации сварщика оформляется в 2-х экземплярах, подписывается председателем комиссии, членами комиссии. Протокол заверяется подписью руководителя и печатью аттестационной организации (при наличии). Один экземпляр протокола хранится в аттестационной организации, второй экземпляр выдается заявителю.
На основании результатов аттестационных экзаменов аттестационная организация в течение 5 рабочих дней оформляет сварщику отдельные по каждому виду (способу) сварки (наплавки) аттестационные удостоверения установленного образца по форме согласно приложению 18 к настоящим Правилам.
Цвет обложки аттестационного удостоверения сварщика металлических материалов – синий. Цвет обложки аттестационного удостоверения сварщика полимерных материалов – зеленый.
При выполнении контрольного сварного соединения комбинированной сваркой аттестационные удостоверения оформляют на каждый вид (способ) сварки отдельно.
При прохождении дополнительной аттестации сварщику выдают вкладыш к аттестационному удостоверению по форме согласно приложению 19 к настоящим Правилам. Срок действия дополнительной аттестации не превышает срока действия аттестационного удостоверения.
98. Аттестационное удостоверение считается недействительным по истечении срока его действия, перерыва в работе по сварке более 6 месяцев или при отстранении сварщика от работы за нарушение технологии сварки и повторяющееся неудовлетворительное качество выполняемых им производственных сварных соединений.
Для сварщиков, аттестованных на сварку полиэтиленовых труб систем газоснабжения, допускается перерыв в работе до 8 месяцев при условии, что до окончания указанного периода сварщик выполнил сварку допускных стыков, а их качество соответствует требованиям национальных и (или) межгосударственных стандартов.
99. По истечении срока действия аттестационное удостоверение допускается продлить аттестационной организацией, проводившей первичную аттестацию и выдавшей аттестационное удостоверение в порядке установленным настоящими Правилами.
Для продления аттестационного удостоверения представляют документы:
ходатайство с места работы сварщика в виде заявки на продление удостоверения;
документы, заверенные отделом технического контроля (лаборатории контроля) и руководством организации, подтверждающие качество выполнения сварщиком за истекший период сварочных работ, соответствующих области распространения аттестации, указанной в удостоверении. Документы включают перечень конкретных изделий, способов сварки, материалов, номеров и дат заключений по результатам контроля качества;
положительное заключение медицинской комиссии.
На основании рассмотрения представленных документов комиссия аттестационной организации принимает одно из следующих решений:
1) продлить срок действия удостоверения на один год в пределах области распространения, указанной в аттестационном удостоверении сварщика, с внесением соответствующей записи в аттестационное удостоверение;
2) продлить срок действия удостоверения с ограничением области распространения, указанной в аттестационном удостоверении сварщика, в соответствии с представленными документами, подтверждающими фактическую область деятельности сварщика, с выдачей нового аттестационного удостоверения сроком на один год;
3) отказать в продлении срока действия удостоверения и рекомендовать направить сварщика на периодическую аттестацию.
В последних двух случаях удостоверение, выданное при первичной аттестации, не возвращается заявителю и аннулируется с записью в протоколе.
При отсутствии документального подтверждения качественного выполнения сварочных работ сварщик проходит периодическую аттестацию.
100. При сварке полимерных материалов сварщик, имеющий перерыв в работе свыше 6 месяцев, но не более 8 месяцев, представляет в аттестационную организацию протокол результатов испытания контрольного сварного соединения, подписанный руководителем организации-работодателя, либо сторонней организации. Продление действия удостоверения допускается не более двух раз.
101. Периодическую аттестацию со сдачей практического и специального экзаменов проводят по истечении срока действия аттестационного удостоверения. После прохождения периодической аттестации сварщику оформляют новое удостоверение, при этом первичное удостоверение подлежит сдаче в аттестационную организацию, выдавшую удостоверение.
102. Проведение периодической, дополнительной или внеочередной аттестации сварщиков допускается в любой аттестационной организации. В случае проведения периодической, дополнительной или внеочередной аттестации сварщиков аттестационной организацией, не проводившей первичную аттестацию данного сварщика, эта организация в месячный срок направляет в аттестационную организацию, проводившую первичную аттестацию, копию протокола аттестации и ранее выданное удостоверение (при периодической аттестации).
Глава 3. Аттестация специалистов сварочного производства
Параграф 1. Общие положения
103. Аттестация специалистов сварочного производства II, III и IV уровней профессиональной подготовки производится по направлению их производственной деятельности при изготовлении, монтаже, реконструкции и ремонте оборудования, трубопроводов и конструкций на опасных производственных объектах.
104. Видами производственной деятельности специалистов сварочного производства, по которым проводится их аттестация, являются:
руководство и технический контроль проведения сварочных работ, включая работы по технической подготовке производства сварочных работ, разработку технологической документации;
участие в работе органов по подготовке и аттестации сварщиков и специалистов сварочного производства.
105. Аттестации подлежат следующие специалисты:
на II уровень: специалисты, чьи письменные или устные указания являются обязательными для исполнения сварщиками при проведении сварочных работ;
на III уровень: специалисты, являющиеся руководителями отдельных подразделений организации, обеспечивающие выполнение сварочных работ, и чья подпись необходима и достаточна для использования документов, определяющих технологию проведения сварочных работ;
на IV уровень: специалисты, являющиеся руководителями службы сварки организации, чья подпись необходима и достаточна для утверждения руководством организации документов по выполнению всех видов сварочных работ.
106. К аттестации допускаются инженерно-технические работники, соответствующие требованиям главы 2 настоящих Правил.
107. Аттестация специалистов сварочного производства на II, III и IV уровни профессиональной подготовки подразделяется на первичную, дополнительную, периодическую и внеочередную.
108. Первичную аттестацию проходят специалисты сварочного производства перед их допуском к работам, указанным в пункте 103 настоящих Правил.
Первичной считается аттестация, проводимая впервые в соответствии с настоящими Правилами.
109. Дополнительную аттестацию проходят специалисты сварочного производства, прошедшие первичную аттестацию в случаях:
допуска к видам производственной деятельности, не указанным в их аттестационных удостоверениях;
при перерыве в работе по специальности свыше одного года.
110. Периодическую аттестацию проходят специалисты сварочного производства в целях продления срока действия их аттестационных удостоверений на выполнение соответствующих видов производственной деятельности.
111. Внеочередную аттестацию проходят специалисты сварочного производства перед их допуском к работам после отстранения от выполнения видов работ, указанных в их аттестационных удостоверениях, по требованию работодателя в соответствии с действующим законодательством.
112. Объем теоретической подготовки специалистов сварочного производства перед дополнительной или внеочередной аттестацией устанавливается аттестационной организацией на основании заявки работодателя в соответствии с утвержденными программами.
Параграф 2. Порядок аттестации специалистов сварочного производства
113. При представлении к аттестации специалиста сварочного производства работодатель (заявитель) направляет в аттестационную организацию заявку по форме, согласно приложению 20 к настоящим Правилам.
114. Аттестацию на право руководства и технического контроля за проведением сварочных работ и (или) на право участия в работе органов по подготовке и (или) аттестации сварщиков и специалистов сварочного производства проводят в аттестационной организации.
Перед проведением аттестации специалист проходит подготовку и проверку знаний в области промышленной безопасности в порядке установленным статьей 79 Закона и представляет в аттестационную организацию копию соответствующих документов (протокол, сертификат, удостоверение).
115. Объемы теоретических знаний и практических навыков аттестуемого специалиста сварочного производства удовлетворяет требованиям экзаменационных программ в соответствии с пунктом 13 настоящих Правил.
Общие требования к экзаменационным программам приведены в приложении 21 к настоящим Правилам.
Объем теоретических знаний и практических навыков аттестуемого экзаменатора и (или) преподавателя устанавливается экзаменационной комиссией аттестационной организации. Аттестацию экзаменаторов и (или) преподавателей проводят по программам, разрабатываемым аттестационной организацией.
Программа аттестации включает знание настоящих Правил и национальных и (или) межгосударственных стандартов для сварки.
116. Аттестация включает в себя проведение двух экзаменов:
общего;
специального, включающего практическое задание.
Специалисты со специальным (высшим техническим или средним техническим) образованием по сварочному производству, работающие по специальности, освобождаются от сдачи общего экзамена.
117. При аттестации на право руководства и технического контроля за проведением сварочных работ при изготовлении, ремонте и монтаже изделий из полимерных материалов общий экзамен по сварке полимерных материалов сдают все специалисты.
118. Проведение одновременной аттестации специалистов сварочного производства допускается не более чем по трем группам опасных технических устройств. При этом по каждой группе объектов сдается отдельный специальный экзамен.
119. На общем экзамене специалисту сварочного производства задают не менее 30, а на специальном не менее 20 произвольно выбранных вопросов и практическое задание в соответствии с направлением его производственной деятельности.
120. Экзамены проводят в письменной форме или с помощью компьютера. По решению экзаменационной комиссии с аттестуемым проводится дополнительное собеседование.
121. Специалист считается выдержавшим экзамены, если он правильно ответил не менее чем на 80 % вопросов, заданных ему на каждом экзамене, и успешно выполнил практическое задание на специальном экзамене, с учетом результатов дополнительного собеседования.
122. Специалист считается прошедшим аттестацию при успешной сдаче всех экзаменов.
Если специалист не выдержал один или два экзамена, ему допускается пересдача несданных экзаменов в течение 6 месяцев, но не ранее чем через один месяц со дня первого экзамена. Дату и условия пересдачи экзамена кандидат согласует с руководителем аттестационной организации.
В случае повторной несдачи экзамена, специалист считается не прошедшим аттестацию. Результаты сданных им ранее экзаменов аннулируются.
123. Допускается проведение аттестации на IV уровень профессиональной подготовки руководителям службы сварки организации, не имеющим высшего специального образования по сварочному производству при соблюдении условий:
наличие высшего технического образования;
стаж работы в должности руководителя службы сварки организации не менее 3 лет;
представление документа о прохождении специальной подготовки по сварочному производству в объеме не менее 108 часов.
Для лиц, претендующих на участие в работе экзаменационных комиссий по аттестации специалистов сварочного производства на право руководства работами по монтажу трубопроводов систем газоснабжения из полимерных материалов, программа специальной подготовки специалистов IV уровня профессиональной подготовки включает, кроме разделов по технологии сварочного производства, разделы по монтажу трубопроводов систем газоснабжения из полимерных материалов.
Аттестацию на IV уровень профессиональной подготовки руководителям службы сварки организации, не имеющим высшего специального образования по сварочному производству, выполняет аттестационная организация на основании ходатайства руководителя организации, где работает аттестуемое лицо.
Параграф 3. Оформление результатов аттестации
124. По результатам аттестации на каждого аттестуемого специалиста сварочного производства аттестационная комиссия оформляет протокол заседания комиссии по форме, приведенной в приложении 22 к настоящим Правилам.
125. Протокол аттестации оформляют в 2-х экземплярах, подписывают председатель комиссии, члены комиссии. Протокол заверяется подписью руководителя и печатью аттестационной организации (при наличии). Один экземпляр протокола хранят в аттестационной организации, второй экземпляр выдают заявителю.
126. Аттестованные специалисты сварочного производства получают аттестационные удостоверения по форме согласно приложению 23 к настоящим Правилам. Цвет обложки аттестационного удостоверения специалиста сварочного производства – красный.
127. Продление срока действия аттестационного удостоверения по истечении срока действия производит аттестационная организация, проводившая первичную аттестацию.
Продление оформляется протоколом аттестационной комиссии аттестационной организации на основании ходатайства с места работы аттестованного специалиста. В ходатайстве указывается, что специалист в период после аттестации работал в соответствии с направлением производственной деятельности, указанным в его аттестационном удостоверении, и не допускал нарушений требований национальных и (или) межгосударственных стандартов для сварки. В ходатайстве указываются наименования опасных технических устройств для которых аттестованный специалист осуществлял руководство сварочными работами.
128. Ходатайство о продлении срока действия аттестационного удостоверения специалиста на право участия в работе органов по подготовке и аттестации сварщиков и специалистов сварочного производства направляет аттестационная организация, осуществляющая профессиональную подготовку персонала по сварочному производству. Специалист имеет стаж работы в этих организациях не менее 6 месяцев.
В ходатайстве указывается и документально подтверждается, что специалист регулярно (не менее 4 раз в год) принимал участие в подготовке или аттестации сварщиков и специалистов сварочного производства и не имел замечаний по работе.
129. На основании рассмотрения представленных документов комиссия аттестационной организации принимает одно из следующих решений:
1) продлить срок действия удостоверения на 1,5 года для специалистов II или III уровней профессиональной подготовки и на 2,5 года – для специалистов IV уровня профессиональной подготовки в пределах области распространения, указанной в аттестационном удостоверении, с внесением соответствующей записи в аттестационное удостоверение;
2) продлить срок действия удостоверения с ограничением области распространения, указанной в аттестационном удостоверении, в соответствии с представленными документами, подтверждающими фактическую область деятельности, с выдачей нового аттестационного удостоверения сроком на 1,5 года для специалистов II или III уровней профессиональной подготовки и на 2,5 года для специалистов IV уровня профессиональной подготовки;
3) отказать в продлении срока действия удостоверения и рекомендовать направить специалиста на периодическую аттестацию.
130. Удостоверение продлевается без процедуры проведения экзаменов не более двух раз.
131. Периодическую аттестацию со сдачей специального экзамена и выполнением практического задания проходят все специалисты сварочного производства по истечении двух сроков продления действия аттестационного удостоверения.
132. Проведение периодической, дополнительной или внеочередной аттестаций специалистов сварочного производства допускается в любой аттестационной организации. В случае проведения периодической, дополнительной или внеочередной аттестаций специалистов аттестационной организацией, не проводившей первичную аттестацию данного специалиста, эта аттестационная организация в месячный срок направляет в аттестационную организацию, проводившую первичную аттестацию, копию протокола аттестации и ранее выданное удостоверение (при периодической аттестации).
| Приложение 1 к Правилам аттестации сварщиков и специалистов сварочного производства |
Требования к кандидатам на аттестацию
| Таблица 1 |
Требования к образованию и профессиональной подготовке кандидатов
Уровень | Минимальное общее образование | Профессиональная подготовка по сварочному производству |
I | среднее | Профессиональная подготовка на базе организации, в учебных центрах, на курсах, в учебно-производственных структурах юридических лиц или в организациях образования, реализующих образовательные учебные программы технического и профессионального образования |
II | Профессиональная подготовка на базе организации, в учебных центрах, на курсах, в учебно-производственных структурах юридических лиц или в организациях образования, реализующих образовательные учебные программы технического и профессионального образования, а также самостоятельная подготовка в процессе работы в области сварки | |
III |
среднее техническое по сварочному производству; | Профессиональная подготовка на базе организации, в учебных центрах, на курсах, в учебно-производственных структурах юридических лиц или в организациях образования, реализующих образовательные учебные программы технического и профессионального образования, а также самостоятельная подготовка в процессе работы в области сварки |
IV | высшее техническое по сварочному производству | Профессиональная подготовка на базе организации, в учебных центрах, на курсах, в учебно-производственных структурах юридических лиц или в организациях образования, реализующих образовательные учебные программы технического и профессионального образования, а также самостоятельная подготовка в процессе работы в области сварки |
| Таблица 2 |
Требования к минимальному стажу работы по специальности, необходимому для допуска сварщика к первичной аттестации
№ | Способы сварки и наплавки | Минимальный стаж работы по способу сварки, месяц |
1 | Ручная дуговая, газовая, механизированная неплавящимся и плавящимся электродами в защитных газах | 12 |
2 | Ручная неплавящимся электродом в инертных газах, автоматическая и механизированная под флюсом, автоматическая неплавящимся и плавящимся электродом в защитных газах, электрошлаковая, электронно-лучевая, плазменная | 6 |
Примечания:
Решением экзаменационной комиссии допускается уменьшение минимального производственного стажа, но при этом он составляет не менее 6 месяцев для аттестации на допуск к ручной и полуавтоматической сварке и не менее 3 месяцев для аттестации на допуск к автоматической сварке.
Для выполнения сварных соединений неответственных конструкций к первичной аттестации допускаются выпускники организации, учебных центров, курсов, учебно-производственных структур юридических лиц или организации образования, реализующих образовательные учебные программы технического и профессионального образования, не имеющие производственного стажа.
| Таблица 3 |
Требования к минимальному стажу работы по специальности, необходимому для допуска специалиста сварочного производства к первичной аттестации
Общее образование | Стаж работы, месяц | ||||
аттестация на II уровень | аттестация на II уровень | аттестация на IV уровень | |||
неаттестованный | специалист II уровня | неаттестованный | специалист III уровня | неаттестованный | |
высшее техническое по сварочному производству | 6 | 6 | 18 | 12 | 36 |
среднее техническое по сварочному производству | 9 | 9 | 24 | - | - |
высшее техническое, среднее техническое | 12 | 12 | 36 | - | - |
среднее | 36 | - | - | - | - |
Примечание:
(-) – кандидат не подлежит аттестации на соответствующий уровень профессиональной подготовки.
| Приложение 2 к Правилам аттестации сварщиков и специалистов сварочного производства |
|
| Форма |
Заявка на проведение аттестации сварщика
Наименование организации | |||
Почтовый адрес, телефон, факс | |||
Аттестационная заявка | № | от | |
Общие сведения о сварщике: | |||
1. | Фамилия, имя, отчество | ||
2. | Год рождения | ||
3. | Место работы | ||
4. | Стаж работы по сварке | ||
5. | Квалификационный разряд по ЕТКС | ||
6. | Наличие и уровень профессиональной подготовки | ||
7. | Специальная подготовка | (когда, где и номер документа) | |
Аттестационные требования: | |||
1. | Виды опасных технических устройств, на сварку которых аттестуется сварщик | ||
2. | Вид аттестации | ||
3. | Шифр документа по сварке | ||
4. | Вид (способ) сварки (наплавки) | ||
5. | Группа свариваемого материала | ||
6. | Вид свариваемых деталей | ||
7. | Тип сварного шва | ||
8. | Толщина деталей, мм | ||
9. | Диаметр деталей, мм | ||
10. | Положение при сварке | ||
11. | Присадочные материалы | ||
Требования к оценке качества контрольных сварных соединений и наплавок: | |||
1. | Документы, регламентирующие проведение контроля и требования к качеству | ||
Руководитель организации (подпись) Ф.И.О. (при наличии) М.П. (при наличии)
Примечания:
Заявку оформляют в 2-х экземплярах (один экземпляр передают в аттестационный центр, второй хранят в организации, направившей сварщика на аттестацию).
Номер заявки указывает аттестующая организация.
При аттестации на сварку полиэтиленовых труб газового оборудования дополнительно указывают стаж работы по сварке трубопроводов систем газораспределения, в том числе стальных.
При аттестации на сварку изделий из полимерных материалов указывают степень автоматизации сварочного оборудования, используемого в производственных условиях.
| Приложение 3 к Правилам аттестации сварщиков и специалистов сварочного производства |
Общие требования к экзаменационным программам при аттестации сварщиков
1. Экзаменационные программы разрабатываются отдельно для общего экзамена и для специальных экзаменов.
2. Все экзаменационные программы имеют единую структуру и включают следующие разделы:
способы сварки и оборудование;
виды материалов и особенности их сварки;
сварные конструкции и основные типы сварных соединений;
производство и техника выполнения сварочных работ;
требования по безопасности проведения сварочных работ.
3. Программа общего экзамена включает, преимущественно, вопросы, относящиеся к тому виду (способу) сварки (наплавки) и к тем свариваемым материалам, на которые аттестуется сварщик.
4. Программы специального экзамена отдельно разрабатываются применительно к конкретным группам опасных технических устройств и видам (способам) сварки (наплавки).
Программы учитывают требования национальных и (или) межгосударственных стандартов и практический опыт производства сварочных работ.
5. Программы специального экзамена охватывают все виды работ сварщика (подготовку под сварку, сборку, подогрев, визуально-измерительный контроль).
6. Если выполнение сварочных работ при изготовлении, монтаже или ремонте опасных технических устройств регламентируется различными национальными и (или) межгосударственными стандартами, то программы специального экзамена отдельно разрабатываются применительно к изготовлению, монтажу и ремонту этих устройств.
| Приложение 4 к Правилам аттестации сварщиков и специалистов сварочного производства |
Требования к контрольным сварным соединениям и области распространения аттестации
| Таблица 1 |
Группы свариваемых материалов
Группа | Материалы |
М01(W01) | Углеродистые и низколегированные конструкционные стали перлитного класса с пределом текучести до 360 мегаПаскаля (далее – МПа) |
М02(W02) | Низколегированные теплоустойчивые хромомолибденовые и хромомолибденованадиевые стали перлитного класса |
М03(W03) | Низколегированные конструкционные стали перлитного класса с пределом текучести свыше 360 МПа |
М04(W04) | Высоколегированные (высокохромистые) стали мартенситного, мартенситно-ферритного и ферритного классов с содержанием хрома от 10 % до 30 % |
М05(W05) | Легированные стали мартенситного класса с содержанием хрома от 4 % до 10 % |
М06 | Чугуны |
М07 | Арматурные стали железобетонных конструкций |
М11(W11) | Высоколегированные стали аустенитно-ферритного и аустенитного классов |
М21(W21) | Чистый алюминий и алюминиево-марганцевые сплавы |
М22(W22) | Нетермоупрочненные алюминиево-магниевые сплавы |
М23(W23) | Термоупрочненные алюминиевые сплавы |
М31 | Медь |
М32 | Медноцинковые сплавы |
М33 | Медноникелевые сплавы |
М34 | Бронзы |
М41 | Титан и титановые сплавы |
М51 | Никель и никелевые сплавы |
М61 | Полиэтилен (РЕ) |
М62 | Сшитый полиэтилен (PE-X) |
М63 | Поливинилхлорид (PVC) |
М64 | Полипропилен (РР) |
М00 | Материалы, не вошедшие в обозначенные выше группы |
Примечания:
Для литейных алюминиевых сплавов применяют присадочный материал, который установлен национальными и (или) межгосударственными стандартами для деформируемых сплавов той же группы.
В скобках приведен код группы по европейской классификации.
Допускается применение других марок сталей, цветных металлов, сплавов и полимерных материалов, если имеются указания в национальных и (или) межгосударственных стандартах. В этом случае программы практического и специального экзаменов сварщиков разрабатываются аттестующей организацией. В протоколе и аттестационном удостоверении указывают группу М00 и марку материала.
| Таблица 2 |
Группы типичных марок основных материалов
Группа материалов | Марки материалов |
М01 (W01) | Ст2кп, Ст2пс, Ст2сп, Ст3кп, Ст3пс, Ст3сп, Ст3Гпс, Ст3Гсп, Ст4кп, Ст4пс, Ст4сп, 08, 08Т, 08ГТ, 10, 15, 15Г, 18, 18Г, 20, 20Г, 25,15К, 16К, 18К, 20К, 22К, 15Л, 20Л, 25Л, 20ЮЧ, А, В, 09Г2, 10Г2, 14Г2, 16ГМЮЧ, 12ГС,12ГСБ,12Г2С,13ГС, 13ГС-У,15ГС, 16ГС, 17ГС, 17Г1С, 17Г1С-У, 20ГСЛ, 20ГМЛ, 08ГБЮ, 09Г2С, 09Г2СА, 09Г2С-Ш, 10Г2С, 10Г2С1, 10Г2С1Д, 14ХГС, 09Г2СЮЧ, 09ХГ2СЮЧ, 09ХГ2НАБЧ, 07ГФБ-У, 15ХСНД, 14ГНМА, 16ГНМА, 10ГН2МФА, 10ГН2МФАЛ, 15ГНМФА, судостроительные стали категорий А32, D32, E32, трубные стали классов прочности К50, К52, К54 |
М02 (W02) | 12МХ, 12ХМ, 15ХМ, 20ХМ, 20ХМА, 20ХМЛ, 10Х2М, 10Х2М-ВД, 20Х2МА, 1Х2М1, 12Х2М1, 10Х2М1А, 10Х2М1А-А, 10Х2М1А-ВД, 10Х2М1А-Ш, 12Х1МФ, 15Х1М1Ф, 20ХМФЛ, 15Х1М1ФЛ, 12Х2МФСР, 12Х2МФБ, 12Х2МФА, 15Х2МФА,15Х2МФА-А, 15Х2НМФА, 15Х2НМФА-А |
М03 (W03) | 13Г1СБ-У,13Г2АФ, 14Г2АФ, 15Г2АФД, 16Г2АФ, 18Г2АФ, 09ГБЮ, 09Г2ФБ,10Г2Ф,10Г2ФБ,10Г2СФБ,10Г2ФБЮ,09Г2БТ, 10Г2БТ, 15Г2СФ, 12Г2СМФ,12Г2СБ, 12Г2СБ-У,12ГН2МФАЮ, Д40, Е40, 10ХСНД, 10ХН1М, 12ХН2, 12ХН3А,10Х2ГНМ, 10Х2ГНМА-А, 30ХМА, 18Х2МФА, 25Х2МФА, 12Х2Н4А, 18Х3МВ, 20Х3МВФ, 25Х3МФА, 15Х3НМФА, 15Х3НМФА-А, 20ХН3Л, 30ХГСА, 38ХН3МФА, судостроительные стали категорий А36, D36, E36, А40, D40, E40, трубные стали классов прочности К55-К60, Х60, Х65, Х70 |
М04 (W04) | 20Х13, 08Х14МФ, 20Х17Н2, 12Х13, 12Х11В2МФ (1Х12В2МФ), 08Х13, 08Х17Т, 15Х25, 15Х25Т, 15Х28, 05Х12Н2М, 06Х12Н3ДЛ, 07Х16Н4Б |
М05 (W05) | 15Х5, 15Х5М, 15Х5М-У, 15Х5ВФ, Х8, 12Х8, 12Х8ВФ, Х9М, 20Х5МЛ, 20Х5ВЛ, 20Х5ТЛ, 20Х8ВЛ |
М06 | СЧ10, СЧ15, СЧ17, СЧ20, СЧ25, СЧ30, СЧ35, СЧ15М4, СЧ17М3, ЧНХТ, ЧН1МШ, ЧН2Х, КЧ30-6, КЧ33-8, КЧ35-10, КЧ37-12, КЧ45-7, КЧ50-5, КЧ55-4, КЧ60-3, КЧ65-3, КЧ70-2, КЧ80-1,5, ВЧ-35, ВЧ-40, ВЧ-45, ВЧ-50, ВЧ-60, ВЧ-70, ВЧ-80, ВЧ-100 |
М07 | 18Г2С, 10ГТ, 25Г2С, 32Г2Рпс, 80С, 20ХГ2Ц, 23Х2Г2Т, 22Х2Г2АЮ, 22Х2Г2Р, 20Х2Г2СР, 27ГС, 20ГС, 28С, Ст 5пс, Ст 5сп, 35ГС |
М11 (W11) | 12Х21Н5Т, 07Х16Н6, 08Х22Н6Т, 08Х21Н6М2Т, 08Х18Г8Н2Т 10Х21Н6М2Л, 07Х13АГ20, 07Х13Н4АГ20, 10Х14Г14Н4Т, 03Х17Н14М3, 08Х17Н13М2Т, 10Х17Н13М3Т, 10Х17Н13М2Т, 08Х17Н15М3Т, 12Х18Н9Т, 03Х16Н9М2, 08Х16Н9М2, 08Х16Н11М3, 08Х18Н9, 09Х19Н9, 10Х18Н9, 12Х18Н9, 04Х18Н10, 08Х18Н10, 06Х18Н10Т, 08Х18Н10Т, 12Х18Н10Т, 02Х18Н11, 03Х18Н11, 12Х18Н12Т, 08Х18Н12Б, 03Х19АГ3Н10Т, 03Х20Н16АГ6, 03Х21Н21М4ГБ, 10Х18Н9ТЛ, 10Х18Н12М3Л, 10Х18Н12М3ТЛ, 10Х18Н9Л, 20Х18Н9ТЛ, 12Х18Н9ТЛ, 12Х18Н12М3ТЛ |
М21 (W21) | АД0, АД00, АД1, А5, А6, А7, А8, А85, А97, А99, АМц |
М22 (W22) | АМг1, АМг2, АМг3, АМг4, АМг5, АМг6 |
М23 (W23) | Д20, АД31, АВ, В95, В96, ВАД-23 |
М31 | М1, М2, М3, М1р, М2р, М3р |
М32 | Л60, Л63, Л68, Л90, ЛС59-1, ЛО62-1, ЛО70-1, ЛМц58-2, ЛЖМц59-1-1, ЛАН59-3-2, ЛН65-5, ЛА77-2, ЛК80-3 |
М33 | МНЖ5-1, БС-3с, МНЖМц30-1-1, НЖМц28-2.5-1.5 |
М34 | БрХ1, БрКМц3-1, БрАМцЖН8-10-3-2, БрАМц9-2, БрАЖНМц7-2,5-1,5-9, БрАЖ9-4, БрАЖНМц9-4-4-1, БрАЖМц10-3-1,5, БрАНЖ7-4-2, БрАНМцЖ8,5-4-4-1,5, БрОЦ8-4, БрОЦ10-2, БрОФ6,5-0,15, БрОФ8-0,3 |
М41 | ВТI–0, ВТI–00, ВТ3-1, ВТ4, ВТ-5, ВТ5-1, ВТ-6, ВТ-8, ВТ-14, ВТ-16, ВТ20, ВТ22, ВТ-28, ПТ–IМ, ПТ-3В, ПТ-7М, ОТ4, ОТ4-0, ОТ4-1, АТ2 |
М51 | ХН77ТЮ, ХН70ВМТЮ, ХН67ВМТЮ, ХН65МВ, ХН65МВУ, ХН78Т, ХН63МБ, ХН70МФ-ВИ, ХН60МЮВТ, ХН75МВТЮ, ХН65ВЮТ, Х20Н80, Х15Н60 |
М61 | ПЭ80, ПЭ100 |
М62 | Сшитый полиэтилен (PE-X) |
М63 | Поливинилхлорид (PVC) |
М64 | Полипропилен (PP) |
М00 | Материалы, не вошедшие в обозначенные выше группы |
| Таблица 3 |
Толщина контрольных сварных соединений и области распространения аттестации
Материалы | Толщина, t, мм | Область распространения, мм |
Стали | ||
Чугуны |
3 ≤ t ≤ 12 |
от 3 мм до 2t |
Алюминий и его сплавы |
t ≤ 6 |
0,7t до 2,5t |
Медь и ее сплавы | ||
Титан и титановые сплавы |
t≤ 6 |
от 0,7 t до 2,5 t |
Никель и никелевые сплавы |
Примечания:
(*) – при газовой сварке: от t до 1,5t;
(**) – при газовой сварке: от 3 мм до 1,5t;
(***) – при толщине деталей более 40 мм проводится отдельная аттестация, которая отмечается в аттестационном удостоверении и протоколе аттестации.
| Таблица 4 |
Диаметры контрольных сварных соединений при сварке труб и области распространения аттестации
Материалы | Наружный диаметр, d, мм | Область распространения, мм |
Стали | ||
Чугуны | d ≥ 100 | от 0,5d и выше |
Алюминий и его сплавы |
d ≤ 125 |
от 0,5d до 2d |
Медь и ее сплавы |
d ≤ 125 |
от 0,5d до 2d |
Титан и титановые сплавы |
d ≤ 125 |
от 0,5d до 2d |
Никель и никелевые сплавы |
| Таблица 5 |
Типы и размеры контрольных сварных соединений при аттестации на сварку изделий из полимерных материалов
Способ сварки | Вид деталей | Тип соединения | Размеры* | Область распространения | ||
толщина, t, мм | диаметр, d, мм | толщина, t, мм | диаметр, d, мм | |||
НИ | Труба с трубой (Т+Т) | СБ | от 5 до 20 | от 63 до 110 | от 5 до 21 | до 225 |
свыше 20 | свыше 110 | от t до 2t | от 0,5d до 2d | |||
Р** | от 2 до 4 | от 20 до 90 | от 0,5t до 1,5t | от 0,5d до 2d | ||
свыше 4 | от t и выше | от 0,5d до 2d | ||||
Лист с листом (Л+Л) | Н | от 1 до 2,5 | - | от 1 до 5 | - | |
ЗН | Муфта и труба (Т+М+Т) | М | свыше 3 | от 20 до 110 | от 3 до 14,6 | от 20 до 225 |
свыше 10 | свыше 225 | от 0,7t и выше | от 0,5d и выше | |||
Седловый отвод и труба (О+Т) | О | свыше 3 | от 63 до 110 | от 3 до 14,6 | от 20 до 225 | |
свыше 10 | свыше 225 | от 0,7t и выше | от 0,5d и выше | |||
НГ | Труба** с листом (Т+Л) | СБ | от 1 до 2,5 | менее 90 | от 1 до 1,5t | от 0,5d до d |
СV | от 5 до 8 | от 63 до 315 | от 5 до 1,5t | от 0,5d до 2d | ||
СХ | свыше 8 | свыше 315 | от 5 и выше | от 0,5d и выше | ||
У | свыше 5 | свыше 90 | от 0,5t и выше | от 0,5d и выше | ||
Лист с листом (Л+Л) | Н | от 1 до 2,5 | - | от 1 до 1,5t | - | |
Э | Труба** с листом (Т+Л) | СV, СХ | от 5 до 8 | от 63 до 315 | от 5 до 1,5t | от 0,5d до 2d |
свыше 8 | свыше 315 | от 5 и выше | от 0,5d и выше | |||
У | свыше 5 | свыше 90 | от 0,5t и выше | от 0,5d и выше | ||
Лист с листом (Л+Л) | У, ТБ, ТV, TX | свыше 8 | - | от 0,5t и выше | - | |
Примечания:
При аттестации на сварку трубопроводов систем газоснабжения диаметр и толщина контрольных сварных соединений не выходят за пределы размеров труб, допускаемых национальными и (или) межгосударственными стандартами для прокладки трубопроводов систем газоснабжения.
(*) – рекомендуемые размеры контрольных сварных соединений приведены в приложении 5 (рисунки 7-11) к настоящим Правилам;
(**) – за исключением трубопроводов систем газоснабжения.
| Таблица 6 |
Методы контроля и испытаний контрольных сварных соединений и наплавок
Метод контроля | Стыковое соединение листов | Стыковое соединение труб | Угловое соединение | Наплавка | Соединение деталей с закладными нагревателями |
Визуальный и измерительный (ВИК) | * | * | * | * | * |
Радиографический (РГК) | *1) | *1) | *2) | - | - |
Ультразвуковой (УЗК) | *3) | *3) | *4) | *9) | - |
Испытание на статический изгиб (сплющивание) | *5) | *5) | - | - | *10) |
Испытание на излом | *1) | *1) | *1), 8) | - | *11) |
Анализ макрошлифов (без полирования) | - | - | *6) | *6) | - |
Магнитопорошковый (МПК)** или капиллярный (КК)** | *7) | *7) | *7) | *7) | - |
Испытание на осевое растяжение | *12) | *12) | - | - | - |
Примечания:
(*) – контроль производится с учетом следующего:
1) выполняют радиографический контроль или испытания на излом, но не оба метода контроля вместе.
Для сварных соединений из полимерных материалов радиографический контроль или испытания на излом не применяют;
2) кроме контрольных угловых сварных соединений приварки труб (патрубков, штуцеров) к листам или трубам при номинальном внутреннем диаметре привариваемой трубы менее 30 мм и соединений вварки труб в трубные решетки; для сварных соединений из полимерных материалов не применяется;
3) контроль выполняют в случаях, предусмотренных документами, указанными в заявке, взамен или в дополнение к радиографическому контролю, при этом испытания на излом не выполняют.
Для сварных стыковых соединений полиэтиленовых труб систем газоснабжения ультразвуковой контроль является обязательным;
4) кроме контрольных сварных соединений при номинальном внутреннем диаметре привариваемой трубы (патрубка, штуцера) менее 100 мм, а также контрольных сварных соединений трубных решеток;
5) контроль является обязательным для контрольных сварных соединений, выполненных газовой сваркой и сваркой плавящимся электродом в активных газах и смесях. Для сварных стыковых соединений полимерных материалов не применяется;
6) испытаниям подлежат не менее 2 макрошлифов;
7) контроль выполняют по решению аттестационной комиссии с учетом заявки на проведение аттестации;
8) испытания выполняют для соединений листов;
9) ультразвуковой контроль выполняют на отслоение наплавки;
10) для сварных соединений полиэтиленовых труб трубопроводов систем газоснабжения, выполненных с помощью муфт с закладными нагревателями, обязательным является испытание на сплющивание;
11) для сварных соединений седловых отводов полиэтиленовых труб трубопроводов систем газоснабжения обязательным является испытание на отрыв;
12) для стыковых сварных соединений полиэтиленовых трубопроводов систем газоснабжения, выполненных сваркой нагретым инструментом, обязательным является испытание на осевое растяжение;
(**) – для сварных соединений из полимерных материалов не применяют;
(-) – контроль не является обязательным.
| Таблица 7 |
Область распространения аттестации в зависимости от пространственного положения контрольного сварного соединения при сварке плавлением
Положения, в которых выполняется сварка | Область распространения | ||||||||||
Лист | |||||||||||
Стыковое соединение | Тавровое соединение | ||||||||||
Н1 | Г | В2 | В1 | П1 | Н1 | Н2 | В2 | В1 | П2 | ||
Стыковое соединение листов | Н1 | - | - | - | - | х | х | - | - | - | |
Г | х | - | - | - | х | х | - | - | - | ||
В2 | - | - | - | - | - | - | х | - | - | ||
В1 | х | - | - | - | х | х | - | х | - | ||
П1 | х | х | - | х | х | х | - | х | х | ||
Тавровое соединение листов | Н1 | - | - | - | - | - | - | - | - | - | |
Н2 | - | - | - | - | - | х | - | - | - | ||
В2 | - | - | - | - | - | - | - | - | - | ||
В1 | - | - | - | - | - | х | х | - | - | ||
П2 | - | - | - | - | - | х | х | - | х | ||
Стыковое соединение труб | Н1 | х | - | - | - | - | х | х | - | - | - |
В2 | - | - | х | - | - | - | - | х | - | - | |
В1 | х | х | - | х | х | х | х | - | х | х | |
Г | х | х | - | х | х | х | х | - | х | х | |
Н45 | х | х | ххх | х | х | х | х | ххх | х | х | |
Тавровое соединение труба+лист | Н2 | - | - | - | - | - | х | х | - | - | - |
В2 | - | - | - | - | - | - | - | х | - | - | |
В1 | - | - | - | - | - | х | х | - | х | х | |
П2 | - | - | - | - | - | х | х | - | х | х | |
Продолжение таблицы
Область распространения | |||||||||
Труба | |||||||||
Стыковое соединение | Тавровое соединение | ||||||||
Н1 | В2 | В1 | Г | Н45 | Н2 | В2 | В1 | П2 | Н45 |
хх | - | - | - | - | х | - | - | - | - |
хх | - | - | хх | - | х | - | - | - | - |
- | - | - | - | - | - | - | - | - | - |
хх | - | - | - | - | х | - | х | - | - |
хх | - | - | - | - | хх | - | хх | хх | - |
хх | - | - | - | - | - | - | - | - | - |
- | - | - | - | - | х | - | - | - | - |
- | - | - | - | - | - | - | - | - | - |
- | - | - | - | - | х | - | - | - | - |
- | - | - | - | - | х | - | - | х | - |
- | - | - | - | х | - | - | - | - | |
- | - | - | - | - | х | - | - | - | |
х | - | - | - | х | - | х | х | - | |
х | - | - | - | х | - | - | - | - | |
х | ххх | х | х | х | ххх | х | х | х | |
- | - | - | - | - | - | - | - | - | |
- | - | - | - | - | - | - | - | - | |
- | - | - | - | - | х | - | х | - | |
- | - | - | - | - | х | - | х | - | |
Примечания:
(*) – пространственное положение, в котором проводилась сварка контрольного сварного соединения;
(х) – пространственное положение, на которое распространяется аттестация;
(хх) – при диаметре труб более 150 мм;
(-) – пространственное положение, на которое не распространяется аттестация;
(ххх) – аттестация при сварке контрольного сварного соединения, выполненного в положении Н45 способом "сверху – вниз", распространяется только на положение В2.
| Таблица 8 |
Область распространения аттестации в зависимости от способа формирования корня шва контрольного сварного соединения
Вид контрольного сварного соединения | Область распространения | ||||
односторонняя сварка (ос) | двусторонняя сварка (дс) | ||||
на подкладке (сп) | без подкладки (бп) | с зачисткой корня шва (зк) | без зачистки корня шва (бз) | ||
Односторонняя сварка (ос) | на подкладке (сп) | * | - | x | - |
без подкладки (бп) | x | * | x | x | |
Двусторонняя сварка (дс) | с зачисткой корня шва (зк) | x | - | * | - |
без зачистки корня шва (бз) | x | - | x | * | |
Примечания:
(*) – вид контрольного сварного соединения;
(х) – вид контрольного сварного соединения, на которое распространяются результаты аттестации;
(-) – вид контрольного сварного соединения, на которое не распространяются результаты аттестации.
| Таблица 9 |
Область распространения аттестации в зависимости от группы основных материалов контрольных сварных соединений
Группа основного материала | Область распространения | |||||||
М01 | М02 | М03 | М04 | М05 | М07 | |||
М01 | * | - | - | - | - | - | ||
М02 | x | * | - | - | - | - | ||
М03 | x | - | * | - | - | х | ||
М04 | x | x | - | * | - | - | ||
М05 | x | х | x | – | * | - | ||
М07 | х | - | - | - | - | * | ||
Алюминий и его сплавы | М21 | М22 | М23 | |||||
М21 | * | x | - | |||||
М22 | x | * | - | |||||
М23 | x | x | * | |||||
Медь и ее сплавы | М31 | М32 | М33 | М34 | ||||
М31 | * | - | х | х | ||||
М32 | - | * | - | - | ||||
М33 | - | - | * | х | ||||
М34 | - | - | х | * | ||||
Примечания:
Марка присадочного материала по химическому составу соответствует группе основного материала контрольного сварного соединения.
Аттестация на сварку сталей группы М07 по ГОСТ 34028 "Прокат арматурный для железобетонных конструкций. Технические условия" более высокого класса прочности распространяется на сварку сталей низшего класса прочности в пределах группы М07 для типов сварных соединений и способов сварки по ГОСТ 14098 "Соединения сварные арматуры и закладных изделий железобетонных конструкций. Типы, конструкции и размеры".
(*) – группа материала контрольного сварного соединения;
(x) – группа материала, на которую распространяется результат аттестации;
(-) – группа материала, на которую не распространяется результат аттестации.
| Таблица 10 |
Область распространения аттестации для контрольных сварных соединений из различных материалов
Группа основного материала | Аттестацию распространяют на сварку |
М02 | М02 с М01 |
М03 |
М03 с М01 |
М04 |
М04 с М01 |
М05 | |
М07 | М07 с М01 |
М22 | М22 с М21 |
М23 |
М23 с М21 |
М31 |
М31 с М33 |
М33 | М33 с М34 |
М34 | М34 с М33 |
Примечание:
При сварке изделий из материалов различных групп марка присадочного материала по химическому составу соответствует группе основного материала контрольного соединения.
| Таблица 11 |
Область распространения аттестации по сварке в зависимости от вида покрытия электродов
Вид покрытия | Область распространения | ||||
A, РA | Р, РБ, РЦ | Б | Ц | П | |
A, РA | * | - | - | - | - |
Р, РБ, РЦ | х | * | - | - | - |
Б | x | x | * | - | - |
Ц | - | - | - | * | - |
П | - | - | - | - | * |
Примечания:
Для покрытия вида "П" результат аттестации действителен только для вида покрытия электрода, примененного при сварке контрольного сварного соединения.
(*) – вид покрытия электродов, которые использованы при сварке контрольного сварного соединения;
(x) – вид покрытия электродов, на который распространяется результат аттестации;
(-) – вид покрытия электродов, на который не распространяется результат аттестации.
| Приложение 5 к Правилам аттестации сварщиков и специалистов сварочного производства |
Требования к положению, размерам и типам контрольных сварных соединений
Рисунок 1. Положения при сварке стыковых (а) и тавровых (б) соединений листов

Примечания:
Н1 – нижнее;
Г – горизонтальное;
Н2 – нижнее тавровых соединений;
В1 – вертикальное (сварка снизу вверх);
В2 – вертикальное (сварка сверху вниз);
П1 – потолочное;
П2 – потолочное тавровых соединений.
Рисунок 2. Положения при сварке стыковых (а) и угловых (б) соединений труб

Примечания:
Н1 – нижнее при горизонтальном расположении осей труб, свариваемых с поворотом;
Н2 – нижнее при вертикальном расположении оси трубы, свариваемой без поворота или с поворотом и горизонтальном расположении оси трубы, привариваемой с поворотом;
В1 – переменное при горизонтальном расположении осей труб (трубы) свариваемых без поворота (на подъем);
В2 – переменное при горизонтальном расположении осей труб (трубы) свариваемых без поворота (на спуск);
Г – горизонтальное при вертикальном расположении осей труб, свариваемых без поворота или с поворотом;
Н45 – переменное при наклонном расположении осей труб (трубы) свариваемых без поворота;
П2 – потолочное при вертикальном расположении оси трубы, свариваемой без поворота или с поворотом.
Рисунок 3. Размеры деталей для стыковых контрольных сварных соединений листов

Рисунок 4. Размеры деталей для тавровых контрольных сварных соединений листов

Примечания:
При t ≥ 6 мм, а ≤ 0,5t;
При t < 6 мм, 0,5t ≤ а ≤ (Z = 0,7t).
Рисунок 5. Размеры деталей для стыковых контрольных сварных соединений металлических труб

Рисунок 6. Размеры деталей для угловых контрольных сварных соединений труб между собой и труб с листами

Примечания:
При t ≥ 6 мм, а ≤ 0,5t;
При t < 6 мм, 0,5t ≤ а ≤ (Z = 0,7t).
Рисунок 7. Типы контрольных сварных соединений при сварке труб из полимерных материалов

Примечания:
а – стыковое соединение;
б – соединение муфтой;
в – соединение седловым ответвлением.
Рисунок 8. Контрольное сварное соединение типа Р

Рисунок 9. Контрольные сварные соединения типов V и Х

Рисунок 10. Контрольные сварные соединения типов ТБ, ТV и TX

Рисунок 11. Контрольное сварное соединение типа Н

| Приложение 6 к Правилам аттестации сварщиков и специалистов сварочного производства |
|
| Форма |
Карта технологического процесса сварки (наплавки) контрольного сварного соединения
| УТВЕРЖДАЮ Руководитель аттестующей организации (подпись) (Ф.И.О. (при наличии) "___" _____________ 20__ г. |
Ф.И.О. (при наличии) сварщика | Клеймо | ||
Вид и способ сварки или наплавки | Основной материал (марка) | ||
Наименование НД (шифр) | |||
Вид шва | Типоразмер, мм: | ||
Тип соединения (по НД) | диаметр | ||
толщина | |||
Положение при сварке | Способ сборки | ||
Вид соединения | Требования к прихватке | ||
Присадочные материалы | |||
Сварочное оборудование |
Эскиз контрольного сварного соединения
Конструкция соединения | Размеры шва | Порядок сварки |
Технологические параметры сварки
Номер шва или валика | Вид и способ сварки | Диаметр электрода или проволоки, мм | Род и полярность тока | Сила тока, А | Напряжение, В | Скорость подачи проволоки, м/ч | Скорость сварки, м/ч | Расход защитного газа, л/мин | |||
Защита обратной стороны шва | Вылет электрода, мм | ||||||||||
Ширина шва или валика (катет шва), мм | Расстояние от сопла горелки до изделия, мм | ||||||||||
Толщина шва или валика, мм | |||||||||||
Дополнительные технологические требования по сварке
_________________________________________________________________________
_________________________________________________________________________
Требования к контролю качества контрольных сварных соединений
Метод контроля | Наименование (шифр) | Объем контроля (%, количество образцов) | |
1. Визуально-измерительный | |||
2. Радиографический | |||
3. Ультразвуковой | |||
4. Капиллярный | |||
5. Магнитопорошковый | |||
6. Анализ макрошлифов | |||
7. Испытания на статический изгиб (сплющивание) | |||
8. Испытания на излом | |||
Разработал Ф.И.О. (при наличии) (подпись, дата)
| Приложение 7 к Правилам аттестации сварщиков и специалистов сварочного производства |
|
| Форма |
Карта технологического процесса сварки полимерных труб встык нагретым инструментом
Наименование изделия | контрольное | Характеристика труб (деталей) | |
Сварное соединение | - завод изготовитель | ||
Способ сварки | НИ | - марка материала | полиэтилен ПЭ80 |
Документы по сварке |
МСП 4.03-103 "Проектирование, строительство и реконструкция газопроводов с применением полиэтиленовых труб"; | - дата выпуска | |
- номер сертификата | |||
- диаметр трубы | 110 мм | ||
Вид соединения | стыковое | - толщина стенки, SDR | 10 мм |
Сварочное оборудование | СР | ||
Ф.И.О. (при наличии) сварщика | Клеймо сварщика |
Эскиз сварного соединения
Конструкция сборки | Конструктивные элементы сварного соединения |
Технологические параметры сварки труб встык нагревательным инструментом
и их значения (в соответствии с МСП 4.03-103
"Проектирование, строительство и реконструкция газопроводов с применением полиэтиленовых труб")
Технологический параметр | Значение | |
1. Температура нагревателя (Тн), оС | 220 | |
2. Удельное давление при оплавлении (Ропл), МПа | 0,15+0,05 | |
3. Время при оплавлении (tопл), с, в зависимости от типа свариваемых труб | до 15 (до образования первичного грата высотой 1 мм) | |
4. Давление при прогреве (Рпр), МПа | 0,01-0,02 | |
5. Время при прогреве (tпр), с, в зависимости от типа свариваемых труб и температуры окружающего воздуха | Температура окружающего воздуха, оС | |
от 0 до +20 | от 0 до +20 | |
70-80 | 65-75 | |
6. Время технологической паузы (tп), с, не более | 4 | |
7. Удельное давление при осадке (Рос), МПа | 0,15+0,05 | |
8. Время при охлаждении (tохл), мин, не менее, в зависимости от температуры окружающего воздуха | Температура окружающего воздуха, оС | |
от 0 до + 20 | от +20 до +40 | |
7 | 8 | |
Примечания:
Значения параметров корректируются в зависимости от температуры окружающего воздуха.
Дополнительные технологические требования по сварке:
очистить поверхности концов свариваемых труб сначала увлажненной, затем сухой ветошью на длину не менее 50 мм от торцов;
установить и закрепить трубы в зажимах центратора установки для сварки;
отцентрировать трубы по наружной поверхности таким образом, чтобы максимальная величина смещения наружных кромок не превышала 10 % от номинальной толщины стенки свариваемых труб;
отторцевать свариваемые поверхности труб непосредственно в сварочной установке;
еще раз проверить центровку труб и отсутствие недопустимых зазоров в стыке (допускается зазор в стыке не более 0,3 мм). Зазоры измеряют лепестковым щупом с погрешностью 0,05 мм;
произвести замер усилия при холостом ходе подвижного зажима центратора установки с закрепленной в нем трубой и скорректировать величину усилий Ропл, Рпр, Рос;
установить требуемые параметры режима сварки и произвести сварку контрольного соединения;
после сварки произвести охлаждение стыка под давлением осадки в течение времени tохл;
проставить клеймо сварщика маркером на наружной поверхности трубы;
удалить контрольное сварное соединение из установки для сварки и провести визуальный и измерительный контроль сварного соединения.
Требования к контролю качества
Метод контроля | Наименование (шифр) документа по сварке | Объем контроля (%, количество образцов) |
1. Визуальный и измерительный |
МСП 4.03-103 "Проектирование, строительство и реконструкция газопроводов с применением полиэтиленовых труб"; | 100 % |
2. Ультразвуковой | Инструкция по ультразвуковому контролю сварных стыковых соединений полиэтиленовых труб | 100 % |
3. Испытание на статическое растяжение |
ГОСТ 11262 "Пластмассы. Методы испытания на растяжение"; | ≥ 5 образцов |
Разработал Ф.И.О. (при наличии) (подпись, дата)
| Приложение 8 к Правилам аттестации сварщиков и специалистов сварочного производства |
|
| Форма |
Карта технологического процесса сварки полимерных труб с применением деталей с закладными нагревателями
Наименование изделия | контрольное | Характеристика труб (деталей) | |||||
Сварное соединение | - завод изготовитель | ||||||
Способ сварки | ЗН | - марка материала | |||||
Документы по сварке |
МСП 4.03-103 "Проектирование, строительство и реконструкция газопроводов с применением полиэтиленовых труб"; | - дата выпуска | |||||
- номер сертификата | |||||||
- диаметр трубы | 50 мм | ||||||
Вид соединения | стыковое | - толщина стенки, SDR | 4,5 мм | ||||
Сварочное оборудование | ЗНШ | ||||||
Ф.И.О. (при наличии) сварщика | Клеймо сварщика | ||||||
Технологические параметры сварки | |||||||
Температура окружающего воздуха, 0С | Наружный диаметр трубы, мм | Толщина стенки, мм | SDR | Время охлаждения после сварки, мин | |||
20 | 50 | 4,5 | 11 | 7 | |||
Примечания:
При сварке на аппаратах с ручным вводом параметров режима сварки указывают их действительные значения.
Дополнительные технологические требования по сварке:
обрезать трубы, предназначенные для сварки под прямым углом к их осям;
отметить на концах трубы зону сварки на длину не менее 0.5 длины фитинга от торцов;
произвести механическую очистку поверхностей труб в зоне сварки от оксидного слоя на глубину 0,1-0,2 мм;
снять фаски на наружной и внутренней поверхностях торца трубы;
придать трубе в зоне сварки круглую форму с помощью приспособления;
произвести обезжиривание зоны сварки;
нанести маркировочные полосы на поверхность труб на расстоянии 0,5 длины фитинга от торца трубы;
зафиксировать положение труб в позиционере или на выравнивающих опорах;
вставить концы труб в фитинг и подключить его к сварочному аппарату;
ввести с помощью считывающего карандаша в сварочный аппарат параметры режима сварки, указанные в штрих-коде на этикетке фитинга;
включить сварочный аппарат и произвести сварку;
провести визуальный и измерительный контроль сварного соединения.
Требования к контролю качества
Метод контроля | Наименование (шифр) документа по сварке | Объем контроля (%, количество образцов) |
1. Визуальный и измерительный |
МСП 4.03-103 "Проектирование, строительство и реконструкция газопроводов с применением полиэтиленовых труб"; | 100 % |
2. Испытания на сплющивание |
МСП 4.03-103 "Проектирование, строительство и реконструкция газопроводов с применением полиэтиленовых труб"; | ≥ 2 образцов |
Разработал Ф.И.О. (при наличии) (подпись, дата)
| Приложение 9 к Правилам аттестации сварщиков и специалистов сварочного производства |
|
| Форма |
Журнал учета работ при аттестации сварщиков металлических конструкций
(практический экзамен)
№, | Ф.И.О. (при наличии) | Номер заявки, вид аттестации | Наименование (шифр) технологии сварки (наплавки), способ сварки | Характеристика контрольного сварного соединения | Клеймо контрольного сварного соединения | ||||||
Марка основного материала | Марки сварочных материалов | Вид свариваемых деталей и типоразмер, мм | Тип шва | Тип соединения | Вид соединения | Положение шва при сварке | |||||
1 | 2 | 3 | 4 | 5 | 6 | 7 | 8 | 9 | 10 | 11 | 12 |
Продолжение таблицы
Отметка о выдаче задания | Отметка о контроле качества сборки соединения под сварку | Отметка о соблюдении технологии сварки | Продолжительность сварки контрольного соединения | Методы контроля и оценка качества | Заключение комиссии | |
Подпись лица, выдавшего задание, дата | Подпись аттестуемого сварщика, дата | |||||
13 | 14 | 15 | 16 | 17 | 18 | 19 |
Примечания:
В графе 4 указывают наименование и номер карты технологического процесса сварки (наплавки) контрольного сварного соединения.
Заполнение граф 7-11 производят условными обозначениями, установленными настоящими Правилами.
В графе 12 указывают номер клейма установленного аттестационной комиссией. Клеймение выполняют ударным или электрографическим способами.
Графы 13, 15, 16 и 17 заполняет член аттестационной комиссии.
В графе 16 указывают сведения о прерываниях процесса сварки, подогрева, поддува защитного газа, контроле температуры металла при сварке, зачистке корня шва и другие.
В графе 18 указывают метод контроля, номер акта (протокола, заключения) и результаты контроля (удовлетворительно, неудовлетворительно). При заполнении графы допускается сокращенное обозначение применяемых методов неразрушающего контроля – радиографический – РГК, ультразвуковой – УЗК, капиллярный – КК, магнитопорошковый – МПК, визуальный и измерительный – ВИК.
В графе 19 аттестационная комиссия указывает оценку практических навыков сварщика словами "удовлетворительно" или "неудовлетворительно". Заключение подписывают члены аттестационной комиссии с указанием даты.
Страницы журнала пронумеровываются и прошнуровываются.
| Приложение 10 к Правилам аттестации сварщиков и специалистов сварочного производства |
|
| Форма |
Журнал учета работ при аттестации сварщиков
(практический экзамен, сварка полимерных материалов)
№ дата | Ф. И.О. | Номер заявки, вид аттестации | Наименование (шифр) технологии сварки, способ сварки | Характеристика контрольного сварного соединения | ||||
Марки материалов свариваемых деталей | Марки сварочных материалов или деталей | Вид свариваемых деталей и типоразмер, мм | Тип сварного соединения | Степень автоматизации оборудования, номер распечатки | ||||
1 | 2 | 3 | 4 | 5 | 6 | 7 | 8 | 9 |
Продолжение таблицы
Клеймо контрольного сварного соединения | Отметка о выдаче задания | Отметка о соблюдении технологии | Результаты ВИК | Результаты мех. испытаний | Результаты УЗК | Заключение комиссии | |
Подпись лица, выдавшего задание, дата | Подпись аттестуемого сварщика, дата | ||||||
10 | 11 | 12 | 13 | 14 | 15 | 16 | 17 |
Примечания:
В графе 4 указывают номер "Технологического регламента процесса сварки контрольного сварного соединения".
Заполнение граф 7-9 производят условными обозначениями, установленными настоящими Правилами.
Тип сварного соединения (графа 8) указывают буквами в соответствии с приложением 4 (таблица 5) к настоящим Правилам.
Степень автоматизации сварочного оборудования (графа 9) указывают условным обозначением в соответствии с пунктом 38 настоящих Правил.
В графе 10 указывают номер клейма, установленного экзаменационной комиссией.
Графы 13-17 заполняет член экзаменационной комиссии.
В графе 17 экзаменационная комиссия указывает оценку практических навыков сварщика словами "удовлетворительно" или "неудовлетворительно". Заключение подписывают члены экзаменационной комиссии с указанием даты и места проведения практического экзамена.
Страницы журнала пронумеровываются и прошнуровываются.
| Приложение 11 к Правилам аттестации сварщиков и специалистов сварочного производства |
Визуальный и измерительный контроль стыковых контрольных сварных соединений из полимерных материалов
1. Визуальный контроль стыковых контрольных сварных соединений производит член экзаменационной комиссии по всей протяженности шва с двух сторон с использованием лупы увеличением 5-7 крат. Измерительный контроль выполняют не менее чем в 5 местах сварного соединения, расположенных равномерно. Выбор мест измерения выполняет представитель экзаменационной комиссии.
2. Внешний вид сварных соединений, выполненных сваркой нагретым инструментом встык, соответствуют следующим требованиям:
валики сварного шва симметрично и равномерно распределены по окружности сваренных труб;
цвет валиков одного цвета с трубой и без трещин, пор, инородных включений;
симметричность шва (отношение ширины наружных валиков грата к общей ширине грата) в пределах 0,3-0,7 в любой точке шва;
смещение наружных кромок свариваемых заготовок не превышает 10 % от толщины стенки трубы (детали);
впадина между валиками грата (линия сплавления наружных поверхностей валиков грата) находится не ниже наружной поверхности труб (деталей);
угол излома сваренных труб или трубы и соединительной детали не превышает 5 градусов.
3. Размеры валиков наружного грата швов зависят от толщины стенки свариваемых труб (деталей) и соответствуют следующим данным:
Геометрические размеры сварного шва
Параметры наружного грата | Условное обозначение труб | |||||||||||||||
SDR11 |
SDR11 |
SDR7,6 |
SDR11 |
SDR17,6 |
SDR11 | |||||||||||
Высота, мм | 1,5-3,0 | 2,0-3,5 | 1,5-3,0 | 2,5-4,5 | 2,0-3,5 | 2,5-4,5 | ||||||||||
Ширина, мм | 4,0-6,0 | 5,0-7,0 | 4,0-6,0 | 6,0-8,5 | 4,5-6,5 | 6,5-9,5 | ||||||||||
Параметры наружного грата | Условное обозначение труб | |||||||||||||||
SDR17,6 |
SDR11 |
SDR17,6 |
SDR11 |
SDR17,6 |
SDR11 | |||||||||||
Высота, мм | 2,0-4,0 | 3,0-5,0 | 2,5-4,5 | 3,0-5,0 | 2,5-4,5 | 3,0-5,0 | ||||||||||
Ширина, мм | 5,5-7,5 | 8,5-12,0 | 6,0-8,5 | 9,0-13,0 | 6,5-9,5 | 10-15 | ||||||||||
Параметры | Условное обозначение труб | |||||||||||||||
SDR17,6 |
SDR11 |
SDR17,6 |
SDR11 |
SDR17,6 |
SDR11 | |||||||||||
Высота, мм | 2,5-4,5 | 3,5-5,5 | 3,0-5,0 | 4,0-6,0 | 3,0-5,0 | 4,5-6,5 | ||||||||||
Ширина, мм | 6,5-9,5 | 11-16 | 8,5-12 | 13-18 | 9,0-13,0 | 14-21 | ||||||||||
| Приложение 12 к Правилам аттестации сварщиков и специалистов сварочного производства |
Визуальный и измерительный контроль контрольных сварных соединений из полимерных материалов, выполненных сваркой с закладными нагревательными элементами
1. Визуальный и измерительный контроль контрольных сварных соединений производит член экзаменационной комиссии с использованием лупы увеличением 5-7 крат. Выбор мест измерения выполняет представитель экзаменационной комиссии.
2. Внешний вид контрольных сварных соединений, выполненных при помощи деталей с закладными нагревательными элементами, соответствуют следующим требованиям:
трубы за пределами соединительной детали имеют следы механической обработки (зачистки);
индикаторы сварки деталей находятся в выдвинутом положении;
угол излома сваренных труб или трубы и соединительной детали не превышает 5 градусов;
поверхность деталей не имеет следов температурной деформации или сгоревшего полимерного материала;
по периметру детали не допускается следов расплава полимерного материала, возникшего в процессе сварки.
| Приложение 13 к Правилам аттестации сварщиков и специалистов сварочного производства |
Испытания контрольных сварных соединений на статический изгиб
1. Механические испытания контрольных сварных соединений металлических материалов проводят в соответствии с ГОСТ 6996 "Сварные соединения. Методы определения механических свойств" (далее – ГОСТ 6996), полимерных материалов – в соответствии с ГОСТ 11262 "Пластмассы. Методы испытания на растяжение".
2. Испытаниям на статический изгиб стыковых соединений листов и труб толщиной 3 мм и более подлежат 4 образца, из которых 2 образца подлежат изгибу со стороны усиления шва, а другие 2 образца – со стороны корня шва. При толщине листов и стенок труб 12 мм и более допускается выполнять испытание образцов "на ребро" (боковой изгиб). При этом испытаниям подлежат не менее 4 образцов.
3. Для стыковых соединений металлических труб диаметром до 108 мм включительно при толщине стенки до 6 мм включительно допускается проводить испытания на сплющивание, если это не противоречит требованиям национальных и (или) межгосударственных стандартов.
4. Вырезку заготовок для изготовления образцов для механических испытаний производят механическим путем режущим или абразивным инструментом. Допускается вырезку заготовок выполнять плазменной или газовой резкой при условии последующей механической обработки заготовок в зоне резки на глубину не менее 2 мм. Краевые участки стыкового и таврового контрольных сварных соединений пластин, выполненных ручными способами сварки, длиной не менее 25 мм подлежат удалению.
При автоматической и механизированной сварке в среде защитных газов и порошковой проволокой при толщине металла более 10 мм, автоматической сварке под флюсом, электрошлаковой сварке длину краевых участков принимать в соответствии с указаниями ГОСТ 6996.
5. При изготовлении образцов усиление шва с наружной и внутренней стороны следует удалять механическим путем. Перед изготовлением образцов остающаяся стальная подкладка в контрольных сварных соединениях, выполненных с подкладкой, удаляется.
Рисунок 1. Схемы испытаний на статический изгиб со стороны усиления шва (а), со стороны корня шва (б) и на боковой изгиб – изгиб "на ребро" (в) образцов из контрольных стыковых сварных соединений листов и труб

Примечание:
Рекомендуемые параметры: D – диаметр пуансона, L – длина образца; b = 1,5t, но не менее 10 мм; D = 2t или D = 2h; r = t, но не более 25 мм; K = 2,5D; L = D + 2,5h + 80мм.
| Приложение 14 к Правилам аттестации сварщиков и специалистов сварочного производства |
Испытания контрольных сварных соединений металлических изделий на излом
1. Испытания на излом выполняют с целью выявления возможных внутренних дефектов в сечении шва в месте его излома.
2. Вырезку заготовок для изготовления образцов для испытаний на излом производят механическим путем режущим или абразивным инструментом. Допускается выполнять вырезку заготовок плазменной или газовой резкой при условии последующей механической обработки заготовок в зоне резки на глубину не менее 2 мм. Краевые участки стыкового и таврового контрольных сварных соединений пластин, выполненных ручными способами сварки, длиной не менее 25 мм подлежат удалению.
Заготовки образцов для испытаний на излом, имеющие надрез по боковым поверхностям глубиной 5 мм, допускается не обрабатывать механическим путем после плазменной и газовой резки.
3. Усиление шва допускается не удалять. Перед изготовлением образцов остающаяся стальная подкладка в контрольных сварных соединениях, выполненных с подкладкой, удаляется.
4. Испытаниям подвергается вся длина стыкового и углового контрольных сварных соединений листов (без краевых участков длиной 25 мм, удаляемых при вырезке заготовок) и труб.
5. Из контрольного стыкового соединения листов вырезают образцы для испытаний шириной 50 мм. При необходимости допускается удалять усиление шва. В образцах на обоих концах сварного шва делаются надрезы глубиной до 5 мм и шириной 2 мм для улучшения условий разрушения наплавленного металла.
6. На образцах допускается выполнять надрез глубиной до 1 мм со стороны, противоположной месту приложения изгибающей нагрузки.
7. При односторонней сварке соединения без подкладки, половину всех образцов следует изгибать, прикладывая нагрузку со стороны корня шва, а другую половину – со стороны усиления.
8. При испытании на излом угловых контрольных сварных соединений листов контрольный образец после удаления краевых частей испытывают либо целиком, либо разрезают на несколько отдельных контрольных образцов шириной не менее 40 мм.
9. При испытании на излом стыкового контрольного сварного соединения труб из него вырезают образцы для испытаний шириной 50 мм. При этом количество образцов для испытаний – не менее 4. Если диаметр трубы контрольного соединения не позволяет вырезать минимальное количество образцов, испытанию подвергается 2 и более контрольных соединений. При необходимости допускается удалять усиление шва. В образцах на обоих концах сварного шва делаются надрезы глубиной до 5 мм.
При односторонней сварке шва без подкладки половину образцов следует изгибать, прикладывая нагрузку со стороны корня шва, а другую половину – со стороны усиления шва.
Рисунок 1. Схемы вырезки (а), виды (б, в) и схемы испытаний на излом
со стороны корня шва (г) и со стороны усиления шва (д) образцов
из стыковых контрольных сварных соединений листов

Рисунок 2. Схема вырезки (а) и испытаний (б) на излом образцов
из таврового контрольного сварного соединения листов

Рисунок 3. Схемы вырезки (а), вид (б) и схемы испытаний на излом со стороны
корня шва (в) и со стороны усиления шва (г) образцов из стыкового контрольного сварного соединения труб

| Приложение 15 к Правилам аттестации сварщиков и специалистов сварочного производства |
Механические испытания контрольных сварных стыковых соединений из полимерных материалов
1. Испытания контрольных сварных стыковых соединений выполняют на образцах-лопатках типа 2 по ГОСТ 11262 "Пластмассы. Методы испытания на растяжение".
2. Образцы изготавливают механической обработкой из отрезков сварных соединений длиной не менее 160 мм. Допускается для труб с номинальной толщиной до 10 мм включительно вырубать образцы штампом-просечкой.
3. Из каждого контрольного сварного соединения вырезают (вырубают) равномерно по периметру шва не менее пяти образцов.
При изготовлении ось образца параллельна оси трубы. Толщина образца равна толщине стенки трубы. Сварной шов располагается посередине образца с точностью ± 1 мм. Образцы не имеют раковин, трещин и других дефектов.
4. Испытания проводят при скорости раздвижения зажимов испытательной машины, равной 100 (±10) мм/мин для образцов труб с номинальной толщиной стенки менее 6 мм и 25 (±2,0) мм/мин для образцов труб с номинальной толщиной стенки 6 мм и более.
5. Испытание на растяжение производят на любой разрывной машине, обеспечивающей точность измерения нагрузки с погрешностью не более 1 % от измеряемого значения, мощность которой позволяет разорвать образцы (усилие от 5000 до 10000 Н) и которая имеет регулируемую скорость.
6. При испытании определяют характер (тип) разрушения образца, а также предел текучести при растяжении и относительное удлинение при разрыве.
7. Критерием качества сварного соединения, выполненного сваркой встык, является характер разрушения образцов.
Различают три типа разрушения:
тип I – наблюдается после формирования "шейки" – типичного сужения площади поперечного сечения образца во время растяжения на одной из половин испытываемого образца. Разрушение наступает, как правило, не ранее чем при достижении относительного удлинения более 50 % и характеризует высокую пластичность. Линия разрыва проходит по основному материалу и не пересекает плоскость сварки;
тип II – отмечается при достижении предела текучести в момент начала формирования "шейки". Разрушение наступает при небольших величинах относительного удлинения, как правило, не менее 20 и не более 50 %, и характеризует низкую пластичность. Линия разрыва пересекает плоскость сварки, но носит вязкий характер;
тип III – происходит до достижения предела текучести и до начала формирования "шейки". Разрушение наступает при удлинении образца, как правило, не более 20 % и характеризует хрупкое разрушение. Линия разрыва проходит точно по плоскости сварки.
8. Результаты испытания считаются положительными, если при испытании на осевое растяжение не менее 80 % образцов имеют пластичный характер разрушения I типа. Остальные 20 % образцов имеют характер разрушения II типа. Разрушение III типа не допускается.
Рисунок 1. Схема вырезки образцов из контрольного сварного соединения для испытания на осевое растяжение

Примечание:
1 – патрубок со сварным соединением; 2 – расположение образцов.
| Приложение 16 к Правилам аттестации сварщиков и специалистов сварочного производства |
Механические испытания контрольных сварных соединений, выполненных сваркой с закладными нагревательными элементами
1. Контрольные сварные соединения, выполненные с применением муфт с закладными нагревателями, подвергают испытаниям на сплющивание. Испытания проводят на образцах-сегментах (рисунок 1 настоящего приложения) путем сжатия концевой части образца у торца соединения до величины, равной двойной толщине стенки соединяемой трубы.
Схема испытания показана на рисунке 2 настоящего приложения.
Длина выступающей части образца и количество образцов, изготавливаемое из каждого контрольного соединения, соответствует таблице 1 настоящего приложения.
2. Для испытаний применяют механизированный пресс, обеспечивающий сближение плит со скоростью 100 (±10) мм/мин; допускается использование пресса со скоростью сближения плит 20 (±2) мм/мин.
Допускается проведение испытаний с использованием обжимных плит без округления кромок. В этом случае в начале испытания расстояние от торца соединительной детали до торца губок 20 (±3) мм.
3. После снятия нагрузки образец извлекают из пресса и визуально осматривают, определяя наличие отрыва трубы от муфты или соединительной детали.
4. Стойкость сварного шва к сплющиванию характеризуется процентом отрыва Сс (%), который является отношением длины сварного шва, не подвергнувшейся отрыву, к полной длине сварного шва в пределах одной трубы
Cc = y/e × 100 %
где, y – длина шва, не подверженная отрыву, e – длина зоны сварки (длина шва) в пределах одной трубы, определяемая по расстоянию между крайними витками спирали закладного нагревательного элемента.
5. Результаты испытаний считают положительными, если на всех испытанных образцах отрыв не наблюдался или если Сс составляет не менее 40 %.
6. Сварные соединения труб и седловых отводов с закладными нагревателями подвергают испытаниям на отрыв.
Испытательная машина снабжена оснасткой, обеспечивающей приложение нагрузки по одной из двух схем испытания, приведенных на рисунке 3 настоящего приложения. Длина полиэтиленовой трубы контрольного сварного соединения принимается равной длине седелки.
Внутрь полиэтиленового патрубка испытываемого образца для передачи усилия вводят металлический сердечник, наружный диаметр которого D определяется по таблице 2 настоящего приложения, в зависимости от наружного диаметра трубы d и стандартного размерного отношения SDR.
Сварной узел подвергают испытанию целиком и нагружают до полного отделения седлового отвода от трубы.
7. Качество оценивают по виду излома в месте сварки седлового отвода с трубой. Излом имеет вязкий характер разрушения по замкнутому периметру сварного шва. Хрупкое разрушение сварного шва не допускается.
Рисунок 1. Общий вид образцов-сегментов

Рисунок 2. Схема испытания на сплющивание

| Таблица 1 |
Размеры образцов для испытания сварных соединений на сплющивание
Диаметр труб, d, мм | Длина свободной части образца, L, мм, не менее | Количество образцов из одного патрубка, шт. | Угол сегмента, град. |
20-75 | 5d | 2 | 180 |
90-125 | 2d | 4 | 90 |
140-225 | 1d | 8 | 45 |
Рисунок 3. Схемы испытания седлового отвода на отрыв

Отрыв при растяжении Отрыв при сжатии
| Таблица 2 |
Диаметр сердечника при испытании седловых отводов на отрыв
SDR | d, мм | D, мм | SDR | d, мм | D, мм |
11 | 63 | 49,5-0,1 | 17,6 | 75 | 64,7-0,2 |
75 | 59,3-0,2 | 90 | 77,7-0,2 | ||
90 | 70,7-0,2 | 110 | 95,5-0,2 | ||
110 | 87,5-0,2 | 125 | 108,7-0,2 | ||
125 | 99,3-0,2 | 140 | 121,9-0,2 | ||
140 | 111,5-0,2 | 160 | 139,0-0,2 | ||
160 | 127,0-0,2 | 180 | 156,4-0,2 | ||
180 | 143,0-0,2 | 200 | 174,0-0,2 | ||
200 | 159,0-0,2 | 225 | 196,0-0,2 | ||
225 | 179,0-0,2 |
| Приложение 17 к Правилам аттестации сварщиков и специалистов сварочного производства |
|
| Форма |
______________________________________
(наименование аттестующей организации)
| УТВЕРЖДАЮ Руководитель аттестующей организации (подпись) (Ф.И.О. (при наличии) "___" _______________ 20__ г. М.П. (при наличии) |
Протокол аттестации сварщика № ____ от ____________
Состав экзаменационной комиссии | |||||||||||
Председатель | _______________________________________ | ||||||||||
Члены комиссии | |||||||||||
1. _____________________________________ | |||||||||||
2. _____________________________________ | |||||||||||
3. _____________________________________ | |||||||||||
(фамилия, имя, отчество, уровень) | |||||||||||
Место проведения практического экзамена | _______________________________________ | ||||||||||
Вид аттестации | _______________________________________ | ||||||||||
1. Общие сведения об аттестуемом сварщике | |||||||||||
1. Фамилия, имя, отчество | |||||||||||
2. Год рождения | |||||||||||
3. Место работы | |||||||||||
4. Стаж работы по сварке | |||||||||||
5. Квалификационный разряд | |||||||||||
6. Специальная подготовка | (когда, где и номер документа) | ||||||||||
2. Данные о сварке (наплавке) контрольных сварных соединений (КСС) | |||||||||||
1. Вид (способ) сварки (наплавки) | |||||||||||
2. Клеймо КСС | |||||||||||
3. Группа и марка свариваемого материала | |||||||||||
4. Вид свариваемых деталей | |||||||||||
5. Тип шва | |||||||||||
6. Толщина, мм | |||||||||||
7. Диаметр, мм | |||||||||||
8. Тип и вид соединения | |||||||||||
9. Положение при сварке | |||||||||||
10. Вид покрытия и марка электродов | |||||||||||
11. Марка присадочного материала | |||||||||||
12. Марка защитного газа, флюса и др. | |||||||||||
13. Дополнительная информация о КСС | |||||||||||
3. Контроль качества контрольных сварных соединений и наплавок | |||||||||||
1. Документ по контролю | |||||||||||
2. Результаты контроля качества контрольных сварных соединений (наплавок) | |||||||||||
Вид контроля | Результат и номер заключения | ||||||||||
Клеймо КСС | |||||||||||
Визуально-измерительный | |||||||||||
Радиографический | |||||||||||
Ультразвуковой | |||||||||||
Капиллярный | |||||||||||
Магнитопорошковый | |||||||||||
Анализ макрошлифов | |||||||||||
Испытания на статический изгиб (сплющивание) | |||||||||||
Испытания на излом | |||||||||||
Испытания на растяжение | |||||||||||
4. Оценка теоретических знаний и практических навыков | |||||||||||
1. Оценка знаний на общем экзамене | |||||||||||
2. Оценка знаний на специальном экзамене | |||||||||||
3. Оценка практических навыков | |||||||||||
Заключение экзаменационной комиссии
Присвоенный уровень: | I уровень – аттестованный сварщик |
Допущен к: | (вид (способ) сварки (наплавки), виды опасных технических устройств) |
Область распространения аттестации
Параметры сварки | Обозначение условий сварки | Область распространения аттестации |
Вид и способ сварки | ||
Степень механизации сварочного оборудования | ||
Вид деталей | ||
Типы швов | ||
Группа свариваемого материала | ||
Присадочный материал (покрытие электрода) | ||
Толщина деталей, мм | ||
Наружный диаметр, мм | ||
Положения при сварке | ||
Вид соединения |
Примечания:
Информацию об области распространения аттестации указывают условными обозначениями.
Степень механизации сварочного оборудования учитывается только при аттестации
на сварку труб трубопроводов систем газоснабжения из полимерных материалов.
Председатель | (подпись) | Ф.И.О. (при наличии) |
Члены комиссии | ________________________________ | |
1. | ________________________________ | |
2. | ________________________________ | |
3. | ________________________________ |
Удостоверение № _______ выдано _____________________________ (дата, подпись)
Примечания:
При аттестации на сварку труб из полимерных материалов для газового оборудования в графе "Стаж работы по сварке" указывают стаж работ по сварке трубопроводов систем газораспределения, в том числе стальных.
В пункты 2 и 3 вносят сведения о каждом контрольном сварном соединении, сварку которого выполнял сварщик при аттестации.
В подпункте 13 пункта 2 вносят дополнительные сведения о контрольных сварных соединениях, необходимых для правильного определения области распространения аттестации. Например, толщину слоя, выполненного аргонодуговой сваркой при комбинированной сварке, сведения о степени механизации сварочного оборудования, используемого при сварке контрольных сварных соединениях из полимерных материалов, сведения о конфигурации образцов контрольных сварных соединениях, если они отличаются от приведенных в настоящих Правилах.
В пункт 3 вносят наименования только тех методов контроля качества, которые использованы при аттестации в соответствии с национальными и (или) межгосударственными стандартами и с учетом заявки.
Результаты контроля указывают словами "удовлетворительно" или "неудовлетворительно" с указанием номера и даты акта, заключения и тому подобное
Оценку знаний и практических навыков сварщика указывают словами "удовлетворительно" или "неудовлетворительно".
В таблицу "Область распространения" вносят только те параметры, которые определяют область распространения аттестации в конкретном случае.
Если на практическом экзамене было выполнено несколько различных контрольных сварных соединений, а области распространения не перекрываются, то в графе "Область распространения" необходимо раздельно указывать диапазон параметров области распространения с учетом параметров выполненных контрольных сварных соединений.
Протокол оформляется в 2-х экземплярах. Один экземпляр передается в организацию, направившую сварщика на аттестацию, второй экземпляр находится в аттестационной организации.
Выдачу удостоверения регистрирует специалист аттестационной организации.
| Приложение 18 к Правилам аттестации сварщиков и специалистов сварочного производства |
|
| Форма |
Аттестационное удостоверение сварщика
| Форма |
Аттестационное удостоверение сварщика конструкций из металлических материалов
| Форма |
Аттестационное удостоверение сварщика конструкций из полимерных материалов
Примечание:
Пункты "Вид (способ) сварки", "Вид деталей", "Тип соединения" заполняют в соответствии с приложением 4 (таблица 5) к настоящим Правилам, пункты "Степень автоматизации сварочного оборудования" и "Группа свариваемого материала" – в соответствии с пунктом 38 настоящих Правил и приложением 4 (таблица 1) к настоящим Правилам.
| Приложение 19 к Правилам аттестации сварщиков и специалистов сварочного производства |
|
| Форма |
Вкладыш к аттестационному удостоверению сварщика
| Приложение 20 к Правилам аттестации сварщиков и специалистов сварочного производства |
|
| Форма |
Заявка на проведение аттестации специалиста сварочного производства
_________________________________________________________________
(наименование организации с указанием почтового адреса, телефона, факса)
Аттестационная заявка № ___ от ________________
Общие сведения о специалисте: | ||
1. | Фамилия, имя, отчество | |
2. | Год рождения | |
3. | Образование и специальность | |
4. | Учебное заведение (когда и что закончил, номер диплома) | |
5. | Место работы | |
6. | Должность | |
7. | Стаж работы в области сварочного производства | |
8. | Переподготовка по сварочному производству (в каком учебном заведении, когда и номер документа) | |
9. | Наличие уровня профессиональной подготовки | |
10. | Специальная подготовка (когда, где и номер документа) | |
Аттестационные требования: | ||
1. | Вид аттестации | |
2. | Направление производственной деятельности | |
3. | Уровень профессиональной подготовки, на который аттестуется специалист | |
4. | Наименование группы опасных технических устройств | |
Руководитель организации (подпись) Ф.И.О. (при наличии) М.П. (при наличии)
Примечания:
Заявку оформляют в 2-х экземплярах. Один экземпляр передают в аттестующую организацию, вторая хранят в организации, направившей специалиста на аттестацию.
Номер заявки указывает аттестующая организация.
При аттестации на руководство сварочными работами труб из полимерных материалов для газового оборудования указывают стаж работы по сварке трубопроводов систем газораспределения, в том числе стальных.
| Приложение 21 к Правилам аттестации сварщиков и специалистов сварочного производства |
Общие требования к экзаменационным программам при аттестации специалистов сварочного производства
1. Экзаменационные программы разрабатываются отдельно для общего экзамена и для специальных экзаменов и дифференцируются в зависимости от уровня профессиональной подготовки специалиста.
2. Все экзаменационные программы имеют единую структуру и включают следующие разделы:
способы сварки и оборудование;
материалы и их поведение при сварке;
сварные конструкции и основные типы сварных соединений, элементы расчета;
организация производства сварочных работ и пути обеспечения качества, сертификация технологии, материалов, оборудования и персонала сварочного производства;
обеспечение безопасности при проведении сварочных работ.
3. Программы общего экзамена включают, преимущественно, вопросы, относящиеся к теоретическим основам видов (способов) сварки, которые применяются в практической деятельности специалиста.
4. Программы специального экзамена отдельно разработаны применительно к конкретным группам опасных технических устройств. Программы учитывают требования национальных и (или) межгосударственных стандартов и практический опыт производства сварочных работ.
5. Программы специального экзамена охватывают все виды работ специалиста, руководство которыми он осуществляет (подготовка под сварку, сборка, подогрев, визуальный и измерительный контроль и другие).
6. Если выполнение сварочных работ при изготовлении, монтаже или ремонте опасных технических устройств регламентируется различными национальными и (или) межгосударственными стандартами, то программы специального экзамена отдельно разрабатываются применительно к изготовлению, монтажу и ремонту этих устройств.
| Приложение 22 к Правилам аттестации сварщиков и специалистов сварочного производства |
|
| Форма |
_____________________________________
(наименование аттестующей организации)
| УТВЕРЖДАЮ Руководитель аттестующей организации (подпись) (Ф.И.О. (при наличии) "___" ______________ 20__ г. М.П. (при наличии) |
Протокол аттестации специалиста сварочного производства № ____ от ____________
Состав аттестационной комиссии | ||||||
Председатель | _______________________________________ | |||||
Члены комиссии | ||||||
1. _____________________________________ | ||||||
2. _____________________________________ | ||||||
3. _____________________________________ | ||||||
(фамилия, имя, отчество, уровень) | ||||||
Место проведения аттестации | _______________________________________ | |||||
Вид аттестации | _______________________________________ | |||||
1. Общие сведения об аттестуемом специалисте | ||||||
1. Фамилия, имя, отчество | ||||||
2. Год рождения | ||||||
3. Образование и специальность | ||||||
4. Место работы | ||||||
5. Должность | ||||||
6. Стаж работы в области сварочного производства | ||||||
7. Переподготовка по сварочному производству | (в каком учебном заведении, когда и номер документа) | |||||
8. Наличие уровня профессиональной подготовки | ||||||
9. Специальная подготовка | (когда, где и номер документа) | |||||
10. Направление производственной деятельности | ||||||
2. Данные о аттестации | ||||||
1. Оценка теоретических знаний на общем экзамене | ||||||
2. Оценка знаний на специальном экзамене | ||||||
3. Заключение аттестационной комиссии | ||||||
1. Присвоенный уровень | ||||||
2. Допущен к | (направление производственной деятельности и наименования групп опасных технических устройств) | |||||
Председатель | (подпись) | Ф.И.О. (при наличии) | ||||
Члены комиссии | ________________________________ | |||||
1. | ________________________________ | |||||
2. | ________________________________ | |||||
3. | ________________________________ | |||||
Удостоверение № _______ выдано _____________________________ (дата, подпись)
Примечание:
Протокол оформляется в 2-х экземплярах. Один экземпляр передается в организацию, направившую специалиста на аттестацию, второй –аттестационную организацию.
| Приложение 23 к Правилам аттестации сварщиков и специалистов сварочного производства |
|
| Форма |
Аттестационное удостоверение специалиста сварочного производства
| Форма |